炜冈科技获得实用新型专利授权:“印刷设备的版辊套筒安装定位机构”
证券之星消息,根据天眼查APP数据显示炜冈科技(001256)新获得一项实用新型专利授权,专利名为“印刷设备的版辊套筒安装定位机构”,专利申请号为CN202422009902.3,授权日为2025年5月9日。

图片来源于网络,如有侵权,请联系删除
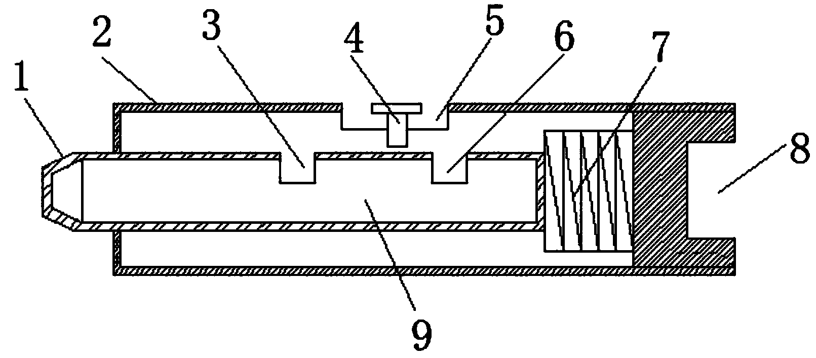
专利摘要:本实用新型涉及印刷设备的版辊套筒安装定位机构,其版辊轴上留有筒体套设安装位,版辊轴上设有拆装式阻挡筒体位置的阻挡定位部件及轴移式推顶筒体位置的推顶松紧部件,阻挡定位部件设在筒体套设安装位的前端,推顶松紧部件设置在筒体套设安装位的后端,推顶松紧部件配有轴向位移驱动机构,轴向位移驱动机构设在版辊轴上,轴向位移驱动机构与推顶松紧部件连接。版辊筒在版辊轴上拆装操作相对方便,由推顶松紧部件配合顶紧固定和松开释放,仅需在前侧位置拆装操作阻挡定位部件,使该部件在阻挡位置拆装即可,无需对阻挡定位部件额外操作(如拧紧操作,避免螺纹拧紧不便利以及不易拧紧、易松动、滑牙、不准、受力不均衡等问题)。

图片来源于网络,如有侵权,请联系删除
今年以来炜冈科技新获得专利授权5个,较去年同期增加了66.67%。结合公司2024年年报财务数据,2024年公司在研发方面投入了3462.96万元,同比增3.51%。

图片来源于网络,如有侵权,请联系删除
数据来源:天眼查APP
以上内容为证券之星据公开信息整理,由AI算法生成(网信算备310104345710301240019号),不构成投资建议。
目录 返回
首页
