亚普股份获得实用新型专利授权:“一种气瓶旋转固化支撑装置”
证券之星消息,根据天眼查APP数据显示亚普股份(603013)新获得一项实用新型专利授权,专利名为“一种气瓶旋转固化支撑装置”,专利申请号为CN202421628152.1,授权日为2025年5月13日。

图片来源于网络,如有侵权,请联系删除
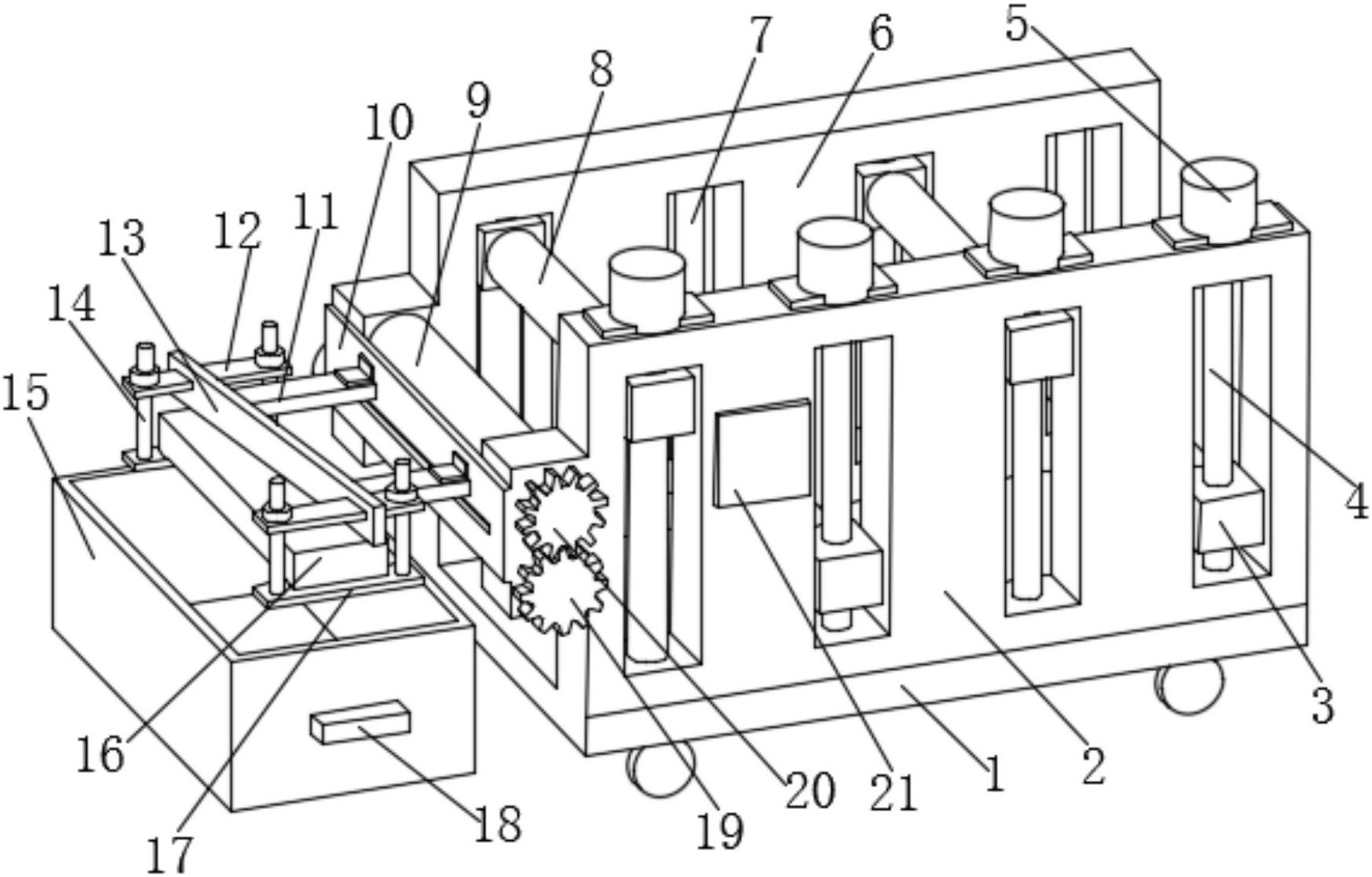
专利摘要:本实用新型属于气瓶固化技术领域,公开了一种气瓶旋转固化支撑装置,包括导轨、L型支撑架、支撑座、托辊组件和气缸,各个导轨之间相互平行,导轨沿X方向延伸,导轨上滑动设置有滑块;L型支撑架的横板设置在滑块上;支撑座设置在L型支撑架的纵板的一侧;托辊组件设置在支撑座上,托辊组件承托缠绕接杆;气缸设置在L型支撑架的纵板背离支撑座的一侧,气缸的伸缩端活动穿设于L型支撑架的纵板,气缸的伸缩端沿X方向伸缩,气缸的伸缩端设置有限位接头,限位接头背离气缸的一端开设有限位孔,限位孔限位缠绕接杆的端部。通过气瓶旋转固化支撑装置,能够解决缠绕接杆处由于气瓶重量和不停旋转导致的漏气风险,并且能够灵活兼容各规格气瓶尺寸。

图片来源于网络,如有侵权,请联系删除
今年以来亚普股份新获得专利授权15个,较去年同期增加了15.38%。结合公司2024年年报财务数据,2024年公司在研发方面投入了3.16亿元,同比减3.49%。
数据来源:天眼查APP
以上内容为证券之星据公开信息整理,由AI算法生成(网信算备310104345710301240019号),不构成投资建议。
目录 返回
首页
