格力电器获得发明专利授权:“一种排风装置及空调器”
证券之星消息,根据天眼查APP数据显示格力电器(000651)新获得一项发明专利授权,专利名为“一种排风装置及空调器”,专利申请号为CN202010457353.X,授权日为2025年5月16日。

图片来源于网络,如有侵权,请联系删除
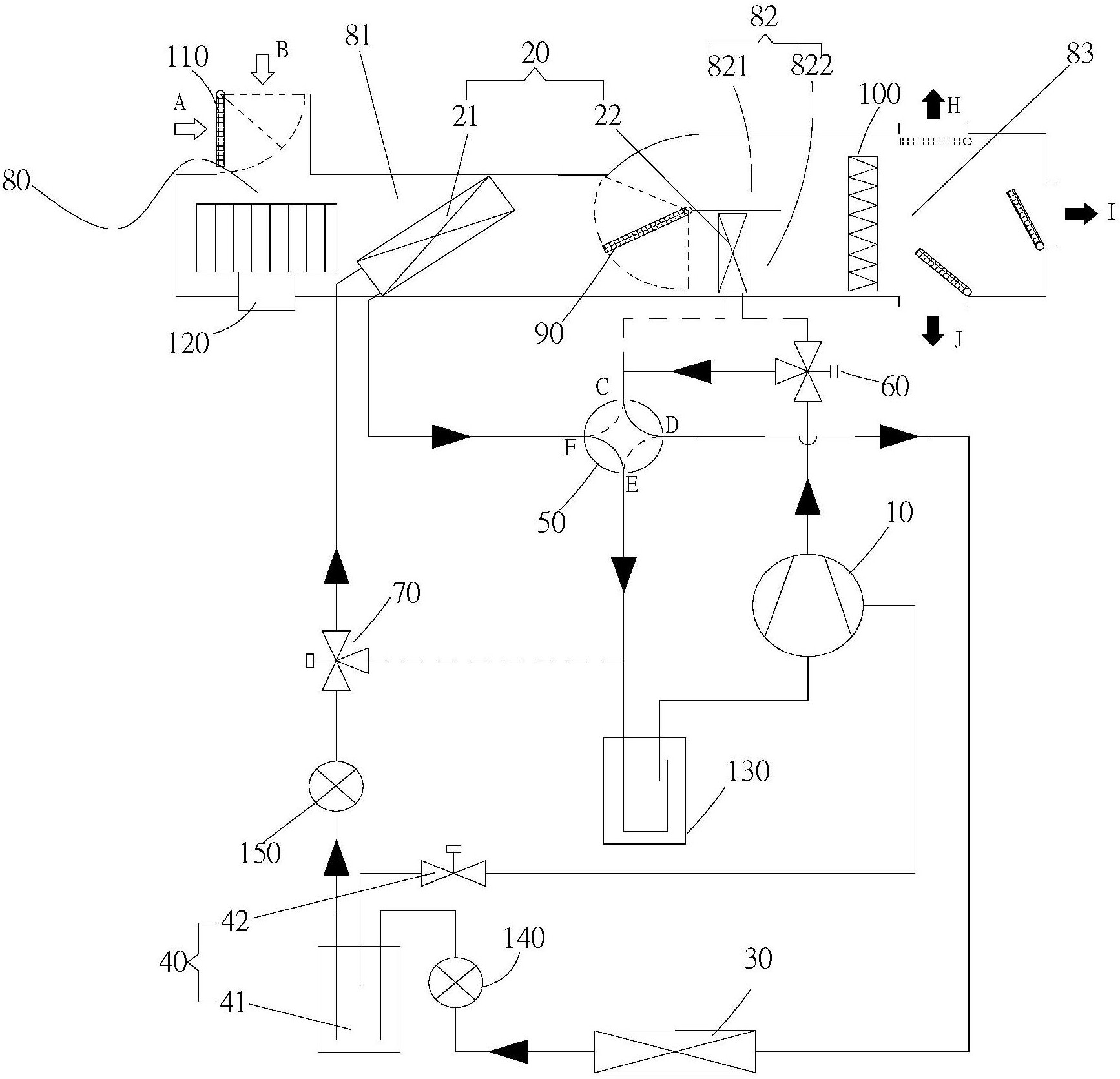
专利摘要:本发明的排风装置及空调器,排风装置的主要由出风口组件、排风管、排风机组件构成。本发明的排风装置的出风口组件设有第一防倒流装置,和/或排风机组件设有第二防倒流装置,可以有效的防止气体的倒灌。本发明的第一防倒流装置采用橡胶片配合盖板的方式,其结构简单,更换方便,效果显著,防倒流效果好;本发明的第二防倒流装置,用挡板配合筋条的方式,利用挡板的自重实现防倒流,其结构新颖,巧妙,效果显著,防倒流效果好。

图片来源于网络,如有侵权,请联系删除
今年以来格力电器新获得专利授权2268个,较去年同期减少了5.18%。结合公司2024年年报财务数据,2024年公司在研发方面投入了69.04亿元,同比增2.1%。

图片来源于网络,如有侵权,请联系删除
数据来源:天眼查APP
以上内容为证券之星据公开信息整理,由AI算法生成(网信算备310104345710301240019号),不构成投资建议。
目录 返回
首页
