宝光股份获得实用新型专利授权:“一种波纹管线切割模具及装置”
证券之星消息,根据天眼查APP数据显示宝光股份(600379)新获得一项实用新型专利授权,专利名为“一种波纹管线切割模具及装置”,专利申请号为CN202421839519.4,授权日为2025年5月20日。

图片来源于网络,如有侵权,请联系删除
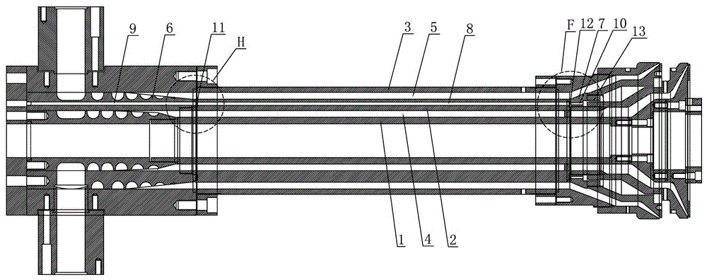
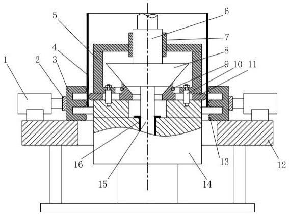
专利摘要:本实用新型属于波纹管零件机械加工技术领域,公开了一种波纹管线切割模具及装置,包括柱形件,所述柱形件的侧面具有两个固定平面,两个固定平面平行设置;所述柱形件两端分别开设有前通孔和后通孔,所述前通孔的直径大于波纹管的直径,所述后通孔的直径小于波纹管的直径;所述固定平面上均开设有条形缝,所述条形缝的一端与前通孔相连通,另一端位于固定平面之内。本实用新型能够将波纹管放入柱形件中进行保护固定,解决了线切割波纹管半剖样样品质量问题,避免了生产过程的安全隐患。

图片来源于网络,如有侵权,请联系删除
今年以来宝光股份新获得专利授权4个,较去年同期减少了82.61%。结合公司2024年年报财务数据,2024年公司在研发方面投入了5411.52万元,同比增0.26%。

图片来源于网络,如有侵权,请联系删除
数据来源:天眼查APP
以上内容为证券之星据公开信息整理,由AI算法生成(网信算备310104345710301240019号),不构成投资建议。
目录 返回
首页
