睿创微纳获得实用新型专利授权:“连接组件、热像仪和制冷型热像仪”
证券之星消息,根据天眼查APP数据显示睿创微纳(688002)新获得一项实用新型专利授权,专利名为“连接组件、热像仪和制冷型热像仪”,专利申请号为CN202421827211.8,授权日为2025年6月3日。

图片来源于网络,如有侵权,请联系删除
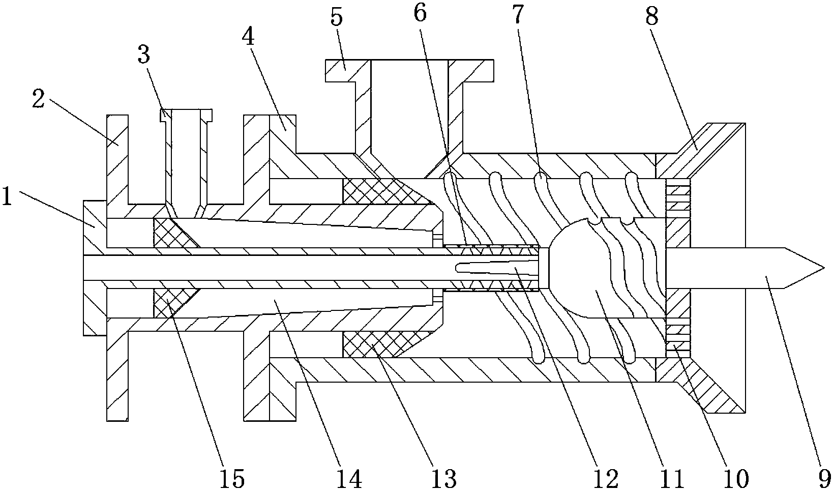
专利摘要:本申请提供一种连接组件、热像仪和制冷型热像仪,所述连接组件,包括红外镜头、法兰、快门、红外探测器和外壳;所述红外探测器设在所述外壳内,所述红外镜头通过所述法兰与所述外壳可拆卸连接;所述快门设在所述法兰内部;所述外壳的热导率大于所述法兰的热导率。本申请提供的连接组件、热像仪和制冷型热像仪能够有效防止快门温升过高,有利于提高图像质量及工作稳定性。

图片来源于网络,如有侵权,请联系删除
今年以来睿创微纳新获得专利授权37个,较去年同期增加了270%。结合公司2024年年报财务数据,2024年公司在研发方面投入了8.61亿元,同比增25.96%。
数据来源:天眼查APP
以上内容为证券之星据公开信息整理,由AI算法生成(网信算备310104345710301240019号),不构成投资建议。
目录 返回
首页
