盈动财经

格力电器获得发明专利授权:“空心轴、转子结构、电机及电动汽车”

07 06月
作者:小微|{/foreach}{/if}

证券之星消息,根据天眼查APP数据显示格力电器(000651)新获得一项发明专利授权,专利名为“空心轴、转子结构、电机及电动汽车”,专利申请号为CN202010419536.2,授权日为2025年6月6日。

格力电器获得发明专利授权:“空心轴、转子结构、电机及电动汽车”
图片来源于网络,如有侵权,请联系删除

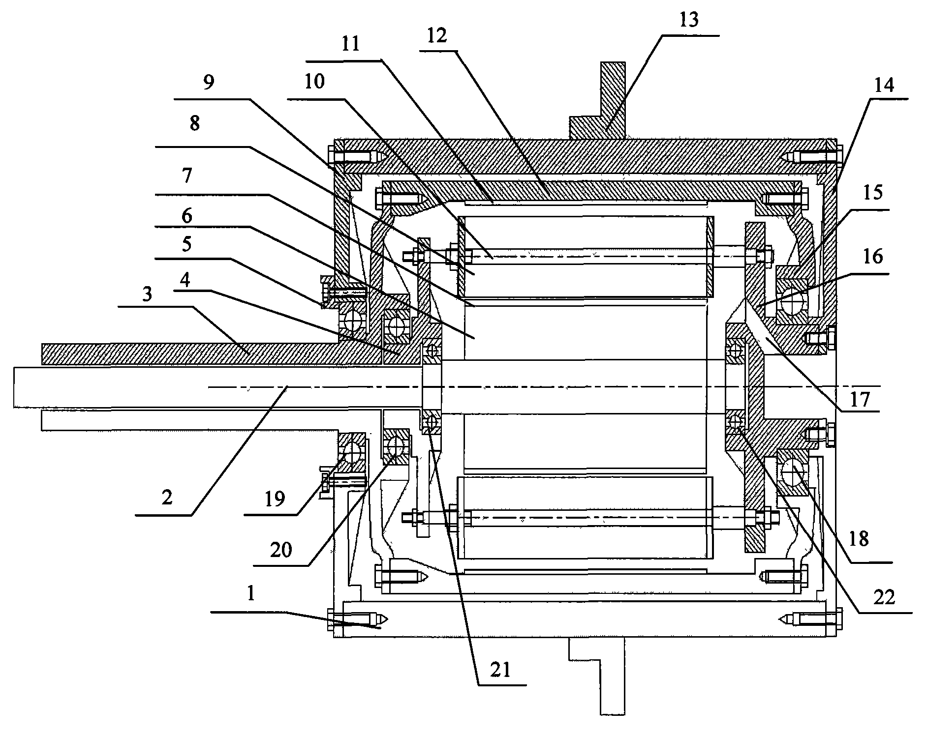
专利摘要:本发明提供一种空心轴、转子结构、电机及电动汽车,其中空心轴包括轴体,轴体设有一端开口的轴空腔;轴体还设有至少一个第一端甩油口、至少一个第二端甩油口;套管件,套管件设置轴空腔内,套管件上设有分油口,套管件的外径为R2,轴空腔的内径为R1,其中R1>R2;分油口设置在至少一个第一端甩油口与至少一个第二端甩油口之间。本发明前后端部甩油口的流量分配均匀,减小空心轴前后端冷却温差;多个独立的导油结构,增加冷却油的轴向流速,提高空心轴的过油能力。半封闭的空心轴密封结构,防止冷却油泄漏,同时防止内腔气压与甩油口外界形成压差。转子挡板设有多层子流道的冷却流道,提高了转子本体的冷却效果。

格力电器获得发明专利授权:“空心轴、转子结构、电机及电动汽车”
图片来源于网络,如有侵权,请联系删除

今年以来格力电器新获得专利授权2628个,较去年同期减少了7.3%。结合公司2024年年报财务数据,2024年公司在研发方面投入了69.04亿元,同比增2.1%。

格力电器获得发明专利授权:“空心轴、转子结构、电机及电动汽车”
图片来源于网络,如有侵权,请联系删除

数据来源:天眼查APP

以上内容为证券之星据公开信息整理,由AI算法生成(网信算备310104345710301240019号),不构成投资建议。

浏览55.9k
返回
目录
返回
首页
尽管国际铀市场不稳,纳米比亚中核罗辛铀矿表现依旧强劲 科技创新债券发行新规“满月” 超4000亿元资金滴灌硬科技 一二级市场联动激活创新生态

Copyright © 2024 dw 版权所有

备案号: 蜀ICP备2024051291号-17

盈动财经专业为您提供视野洞察、能源期货、黄金市场、金融市场、财经专题等财经方面资讯,盈动财经是一个专业财经领域资讯服务者。

本站部分内容为转载,不代表本站立场,如有侵权请联系处理。