盈动财经

小熊电器获得实用新型专利授权:“一种凸轮顶杆驱动阀芯结构”

13 06月
作者:小微|{/foreach}{/if}

证券之星消息,根据天眼查APP数据显示小熊电器(002959)新获得一项实用新型专利授权,专利名为“一种凸轮顶杆驱动阀芯结构”,专利申请号为CN202422131043.5,授权日为2025年6月13日。

小熊电器获得实用新型专利授权:“一种凸轮顶杆驱动阀芯结构”
图片来源于网络,如有侵权,请联系删除

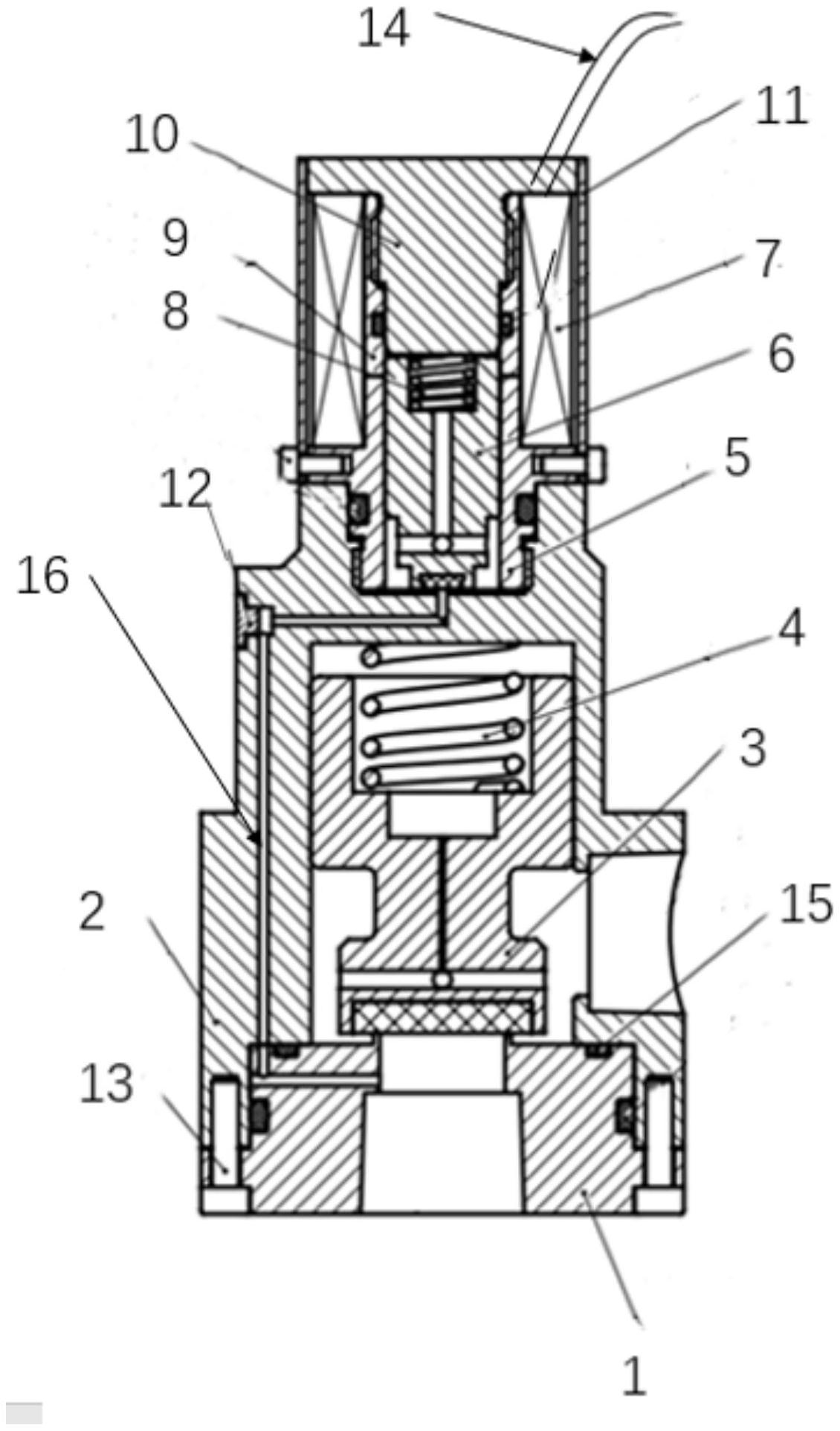
专利摘要:本实用新型公开了一种凸轮顶杆驱动阀芯结构,包括:阀芯主体,设置有限位孔;驱动杆,与限位孔一一对应;驱动转轴,包括驱动端和抵接端,抵接端设置有凸块,凸块与抵接端之间设置有过渡面;复位件;驱动件,驱动件与驱动端驱动连接,驱动杆的一端抵接于抵接端,当驱动转轴转动时,驱动杆的一端受所述凸块的抵接力,沿其对应的所述限位孔做轴向运动,用于闭合或连通与所述驱动杆相对的液体通道,同一时间有且仅有一个驱动杆与凸块抵接,与凸块抵接的驱动杆连通与其对应的液体通道,本实用新型避免了电机及其相关电路组件的复杂安装,从而显著减少了空间占用,简化了机械结构,可以较为容易地进行操作,降低了维护成本和操作难度。

今年以来小熊电器新获得专利授权131个,较去年同期增加了11.02%。结合公司2024年年报财务数据,2024年公司在研发方面投入了1.95亿元,同比增36.48%。

数据来源:天眼查APP

以上内容为证券之星据公开信息整理,由AI算法生成(网信算备310104345710301240019号),不构成投资建议。

浏览50.9k
返回
目录
返回
首页
债市早参6月12日|今年置换债券发行进度已超八成;4只信用债ETF破百亿元;短端利率债交易量激增 苏丹新任总理宣布重组政府

Copyright © 2024 dw 版权所有

备案号: 蜀ICP备2024051291号-17

盈动财经专业为您提供视野洞察、能源期货、黄金市场、金融市场、财经专题等财经方面资讯,盈动财经是一个专业财经领域资讯服务者。

本站部分内容为转载,不代表本站立场,如有侵权请联系处理。