盈动财经

良信股份获得实用新型专利授权:“一种断路器灭弧室排气结构”

10 06月
作者:小微|{/foreach}{/if}

证券之星消息,根据天眼查APP数据显示良信股份(002706)新获得一项实用新型专利授权,专利名为“一种断路器灭弧室排气结构”,专利申请号为CN202421937443.9,授权日为2025年6月10日。

良信股份获得实用新型专利授权:“一种断路器灭弧室排气结构”
图片来源于网络,如有侵权,请联系删除

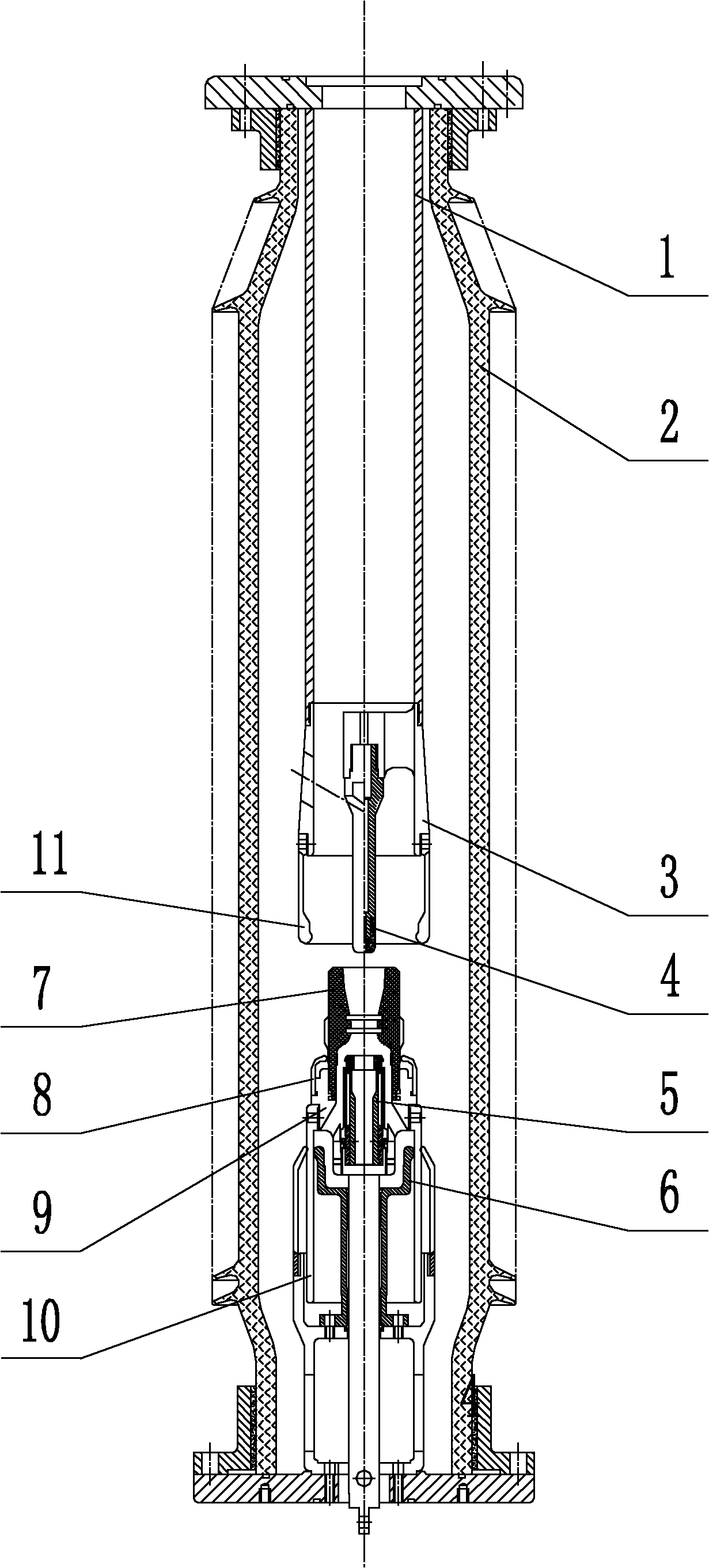
专利摘要:一种断路器灭弧室排气结构,它包括灭弧室,所述灭弧室中灭弧栅片的排气一侧设置有绝缘栅栏,其特征在于:所述绝缘栅栏上设置有开孔面积大小不一的气孔,靠近动触头和静触头打开区域的绝缘栅栏上气孔一的开孔面积小于远离动触头和静触头打开区域的绝缘栅栏上气孔二的开孔面积。采用不等气孔栅栏结构;通过对栅栏不同位置设计不同大小的气孔,将灭弧室对应停滞位置的气压增大,由此增加该位置的气吹,加快了电弧的移动,同时避免了栅片背后粘连。

良信股份获得实用新型专利授权:“一种断路器灭弧室排气结构”
图片来源于网络,如有侵权,请联系删除

今年以来良信股份新获得专利授权188个,较去年同期增加了157.53%。结合公司2024年年报财务数据,2024年公司在研发方面投入了3.12亿元,同比增10.15%。

良信股份获得实用新型专利授权:“一种断路器灭弧室排气结构”
图片来源于网络,如有侵权,请联系删除

数据来源:天眼查APP

以上内容为证券之星据公开信息整理,由AI算法生成(网信算备310104345710301240019号),不构成投资建议。

浏览63.3k
返回
目录
返回
首页
交易商协会:科技创新债券发行超3700亿元 智利5月通胀数据符合预期 年通胀为4.4%

Copyright © 2024 dw 版权所有

备案号: 蜀ICP备2024051291号-17

盈动财经专业为您提供视野洞察、能源期货、黄金市场、金融市场、财经专题等财经方面资讯,盈动财经是一个专业财经领域资讯服务者。

本站部分内容为转载,不代表本站立场,如有侵权请联系处理。