盈动财经

旷达科技获得实用新型专利授权:“一种汽车复合面料生产用贴合设备”

14 06月
作者:小微|{/foreach}{/if}

证券之星消息,根据天眼查APP数据显示旷达科技(002516)新获得一项实用新型专利授权,专利名为“一种汽车复合面料生产用贴合设备”,专利申请号为CN202421995061.1,授权日为2025年6月13日。

旷达科技获得实用新型专利授权:“一种汽车复合面料生产用贴合设备”
图片来源于网络,如有侵权,请联系删除

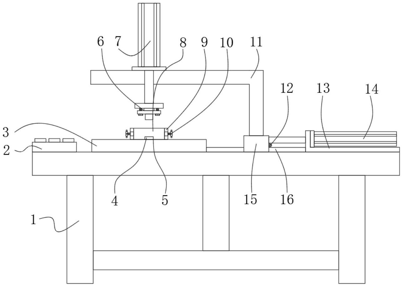
专利摘要:本实用新型涉及面料生产技术领域,具体涉及一种汽车复合面料生产用贴合设备,本实用新型提供了一种汽车复合面料生产用贴合设备,包括:装配架,从所述装配架的一侧到另一侧依次设置有面层传送机构、海绵传送机构、压合机构及收卷机构,在所述面层传送机构上方的所述装配架上安装有给胶头,所述面层传送机构与所述压合机构之间的所述装配架底面固定有热烘口;本实用新型通过设置带有共聚酯胶水颗粒原料的给胶头,让抹胶压合后无需固化,减少固化步骤,提高生产效率,解决复合品表面橘皮、凹坑等外观不良的问题;提高了复合品的合格率;通过设置凹坑,提高抹胶均匀度,增加胶水滞留量,增强复合品粘合牢固度。

旷达科技获得实用新型专利授权:“一种汽车复合面料生产用贴合设备”
图片来源于网络,如有侵权,请联系删除

今年以来旷达科技新获得专利授权2个,与去年同期持平。结合公司2024年年报财务数据,2024年公司在研发方面投入了6468.46万元,同比增18.15%。

旷达科技获得实用新型专利授权:“一种汽车复合面料生产用贴合设备”
图片来源于网络,如有侵权,请联系删除

数据来源:天眼查APP

以上内容为证券之星据公开信息整理,由AI算法生成(网信算备310104345710301240019号),不构成投资建议。

浏览46.4k
返回
目录
返回
首页
津巴布韦投资发展署推出投资者申诉响应机制 七家CEMAC地区航空公司被列入欧盟禁飞名单

Copyright © 2024 dw 版权所有

备案号: 蜀ICP备2024051291号-17

盈动财经专业为您提供视野洞察、能源期货、黄金市场、金融市场、财经专题等财经方面资讯,盈动财经是一个专业财经领域资讯服务者。

本站部分内容为转载,不代表本站立场,如有侵权请联系处理。