格力电器获得发明专利授权:“一种用于衣物处理装置的冷凝机构及衣物处理装置”
证券之星消息,根据天眼查APP数据显示格力电器(000651)新获得一项发明专利授权,专利名为“一种用于衣物处理装置的冷凝机构及衣物处理装置”,专利申请号为CN202110303963.9,授权日为2025年6月13日。

图片来源于网络,如有侵权,请联系删除
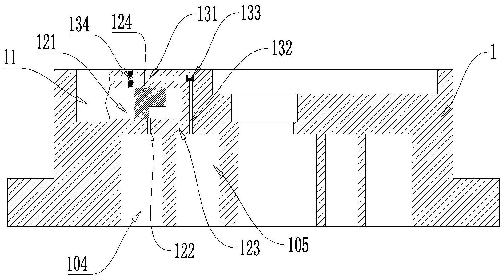
专利摘要:本发明提供一种用于衣物处理装置的冷凝机构及衣物处理装置,其中冷凝机构设置于衣物处理装置的风道内,包括内置换热件和喷淋组件;内置换热件内部形成冷却流体流道,包括多个依次连接的流路单元,流路单元设有主流路和分流路;在主流路回流口处分流路流体作用于主流路流体,使主流路流体流速降低;多个流路单元的主流路形成波浪形,分流路交错地设置于主流路的左侧和右侧,使得分流路流体可从不同方向对主流路流体形成阻碍作用,当冷却流体流过冷却流体流道时与风道内湿热空气完成热交换,延长了换热时间;内置换热件外壁面形成有平面和圆弧过渡面,增大了与湿热空气的热交换面积;喷淋组件可清理换热件外壁上的毛屑,降低风阻,提高了冷凝效果。

图片来源于网络,如有侵权,请联系删除
今年以来格力电器新获得专利授权2758个,较去年同期减少了6.82%。结合公司2024年年报财务数据,2024年公司在研发方面投入了69.04亿元,同比增2.1%。

图片来源于网络,如有侵权,请联系删除
数据来源:天眼查APP
以上内容为证券之星据公开信息整理,由AI算法生成(网信算备310104345710301240019号),不构成投资建议。
目录 返回
首页
