盈动财经

海尔智家获得实用新型专利授权:“空调用新风模块结构及空调器”

17 06月
作者:小微|{/foreach}{/if}

证券之星消息,根据天眼查APP数据显示海尔智家(600690)新获得一项实用新型专利授权,专利名为“空调用新风模块结构及空调器”,专利申请号为CN202421607807.7,授权日为2025年6月17日。

海尔智家获得实用新型专利授权:“空调用新风模块结构及空调器”
图片来源于网络,如有侵权,请联系删除

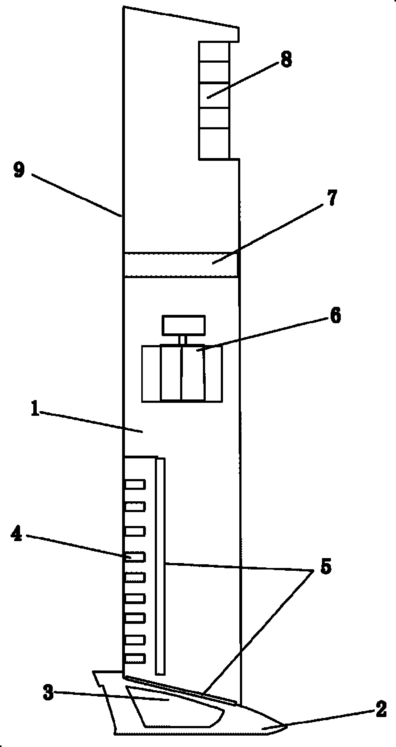
专利摘要:本实用新型涉及家用电器技术领域,提供一种空调用新风模块结构及空调器。空调用新风模块结构包括新风用进气口、新风用出气口、新风管、过滤器、新风动力机构及封堵结构;新风用进气口设置在空调内机;新风用出气口设置在空调内机,并与新风用进气口连接;新风管与新风用进气口可拆卸连接;过滤器设置在新风用进气口与新风用出气口之间;新风动力机构用于为空调用新风模块结构提供循环动力;封堵结构与新风用进气口可拆卸连接。通过这种结构设置,使得空调用新风模块结构不仅具备室内外空气交换的功能,还具备室内空气净化的功能,丰富了空调用新风模块结构的功能。

海尔智家获得实用新型专利授权:“空调用新风模块结构及空调器”
图片来源于网络,如有侵权,请联系删除

今年以来海尔智家新获得专利授权2543个,较去年同期减少了20.56%。结合公司2024年年报财务数据,2024年公司在研发方面投入了107.4亿元,同比增3.47%。

数据来源:天眼查APP

以上内容为证券之星据公开信息整理,由AI算法生成(网信算备310104345710301240019号),不构成投资建议。

浏览57.1k
返回
目录
返回
首页
债市利好因素增多,节奏可能向利率债行情切换 一季度墨西哥吸引外资创历史纪录

Copyright © 2024 dw 版权所有

备案号: 蜀ICP备2024051291号-17

盈动财经专业为您提供视野洞察、能源期货、黄金市场、金融市场、财经专题等财经方面资讯,盈动财经是一个专业财经领域资讯服务者。

本站部分内容为转载,不代表本站立场,如有侵权请联系处理。