中国一重获得实用新型专利授权:“一种热模锻压力机移动式模座拖出机构”
证券之星消息,根据天眼查APP数据显示中国一重(601106)新获得一项实用新型专利授权,专利名为“一种热模锻压力机移动式模座拖出机构”,专利申请号为CN202421815218.8,授权日为2025年6月3日。

图片来源于网络,如有侵权,请联系删除
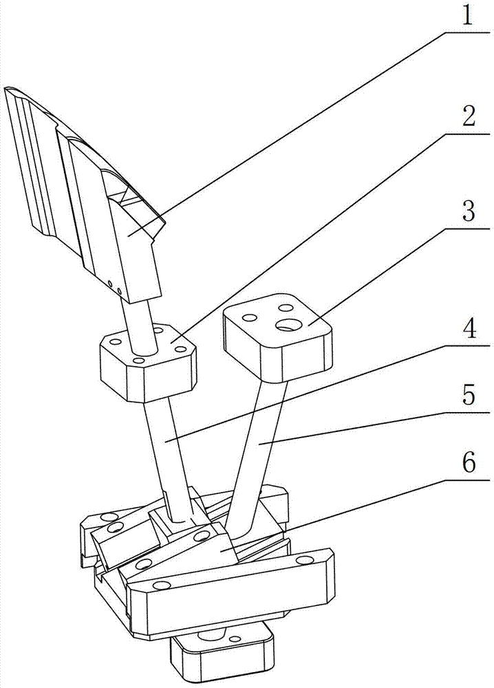
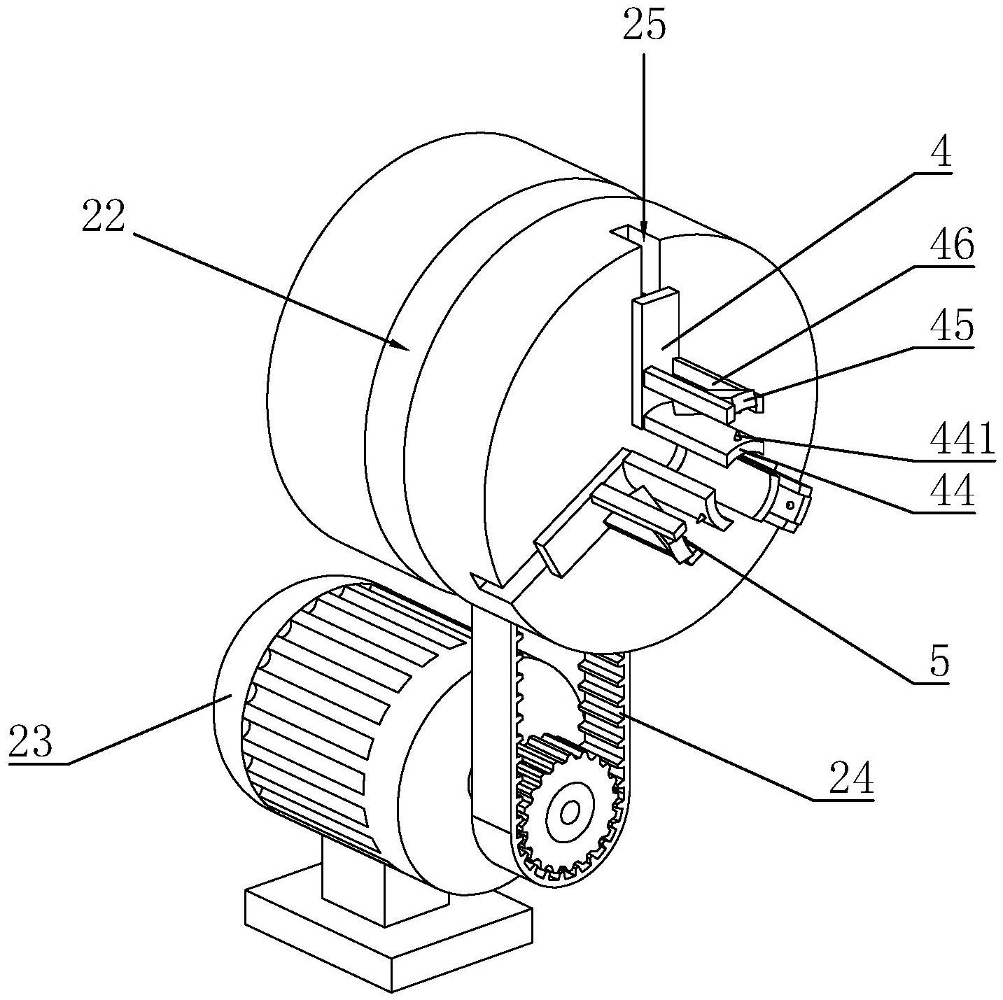
专利摘要:本实用新型公开了一种热模锻压力机移动式模座拖出机构,包括底座、电机减速机、联轴器、小齿轮、大齿轮、链轮、链条、导轨、支架、拖架,底座、导轨、支架组成一体式框架,底座位于两个导轨一端,电机减速机、联轴器、小齿轮、大齿轮布置在底座上;电机减速机输出端通过联轴器连接小齿轮,小齿轮和大齿轮啮合,两个链轮与大齿轮安装在同一根轴上并通过轴承座一安装在底座上,另两个链轮安装在同一根轴上并通过轴承座二安装在导轨另一端,链轮与链轮之间通过链条连接;拖架位于导轨另一端,拖架通过销连接在链条上。本实用新型采用一体式结构,安装完成后可整体发至用户现场,无需二次安装,安装运输方便,使用空间小,制作成本低,使用稳定可靠。

图片来源于网络,如有侵权,请联系删除
今年以来中国一重新获得专利授权25个,较去年同期减少了55.36%。结合公司2024年年报财务数据,2024年公司在研发方面投入了6.09亿元,同比增29.63%。
数据来源:天眼查APP
以上内容为证券之星据公开信息整理,由AI算法生成(网信算备310104345710301240019号),不构成投资建议。
目录 返回
首页
