盈动财经

丰元股份获得实用新型专利授权:“一种稀土草酸沉淀反应罐清理装置”

20 06月
作者:小微|{/foreach}{/if}

证券之星消息,根据天眼查APP数据显示丰元股份(002805)新获得一项实用新型专利授权,专利名为“一种稀土草酸沉淀反应罐清理装置”,专利申请号为CN202422018500.X,授权日为2025年6月20日。

丰元股份获得实用新型专利授权:“一种稀土草酸沉淀反应罐清理装置”
图片来源于网络,如有侵权,请联系删除

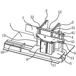
专利摘要:本实用新型涉及反应罐清理技术领域,且公开了一种稀土草酸沉淀反应罐清理装置,包括驱动组件,驱动组件底面紧固连接有搅动组件,且搅动组件周围紧固连接有清理组件,清理组件包括清理板和连接杆,且连接杆对称固定连接在清理板内侧表面中部,连接杆一侧表面中部对称贯穿设置有第二插孔。该一种稀土草酸沉淀反应罐清理装置,通过设置的清理组件和驱动组件,解决了现有的稀土草酸沉淀反应罐清理装置,在进行使用时,通常其清理结构较为的固定,无法根据反应罐的半径进行灵活的调节,使用起来存在一定局限性;或者现有的稀土草酸沉淀反应罐清理装置,在进行使用时,拆装起来较为的不便,还需要使用到相关的工具,使用起来存在一定局限性的问题。

丰元股份获得实用新型专利授权:“一种稀土草酸沉淀反应罐清理装置”
图片来源于网络,如有侵权,请联系删除

今年以来丰元股份新获得专利授权3个。结合公司2024年年报财务数据,2024年公司在研发方面投入了2373.43万元,同比减20.34%。

丰元股份获得实用新型专利授权:“一种稀土草酸沉淀反应罐清理装置”
图片来源于网络,如有侵权,请联系删除

通过天眼查大数据分析,山东丰元化学股份有限公司共对外投资了10家企业,参与招投标项目5次;财产线索方面有商标信息3条,专利信息62条,著作权信息8条;此外企业还拥有行政许可15个。

数据来源:天眼查APP

以上内容为证券之星据公开信息整理,由AI算法生成(网信算备310104345710301240019号),不构成投资建议。

浏览53.4k
返回
目录
返回
首页
民营创投机构首批科创债发行落地,科创债ETF也来了 科创债年内发行已超8893亿元 市场认购积极

Copyright © 2024 dw 版权所有

备案号: 蜀ICP备2024051291号-17

盈动财经专业为您提供视野洞察、能源期货、黄金市场、金融市场、财经专题等财经方面资讯,盈动财经是一个专业财经领域资讯服务者。

本站部分内容为转载,不代表本站立场,如有侵权请联系处理。