美的集团获得实用新型专利授权:“水蒸气压缩机及制冷系统”
证券之星消息,根据天眼查APP数据显示美的集团(000333)新获得一项实用新型专利授权,专利名为“水蒸气压缩机及制冷系统”,专利申请号为CN202422257472.7,授权日为2025年6月27日。

图片来源于网络,如有侵权,请联系删除
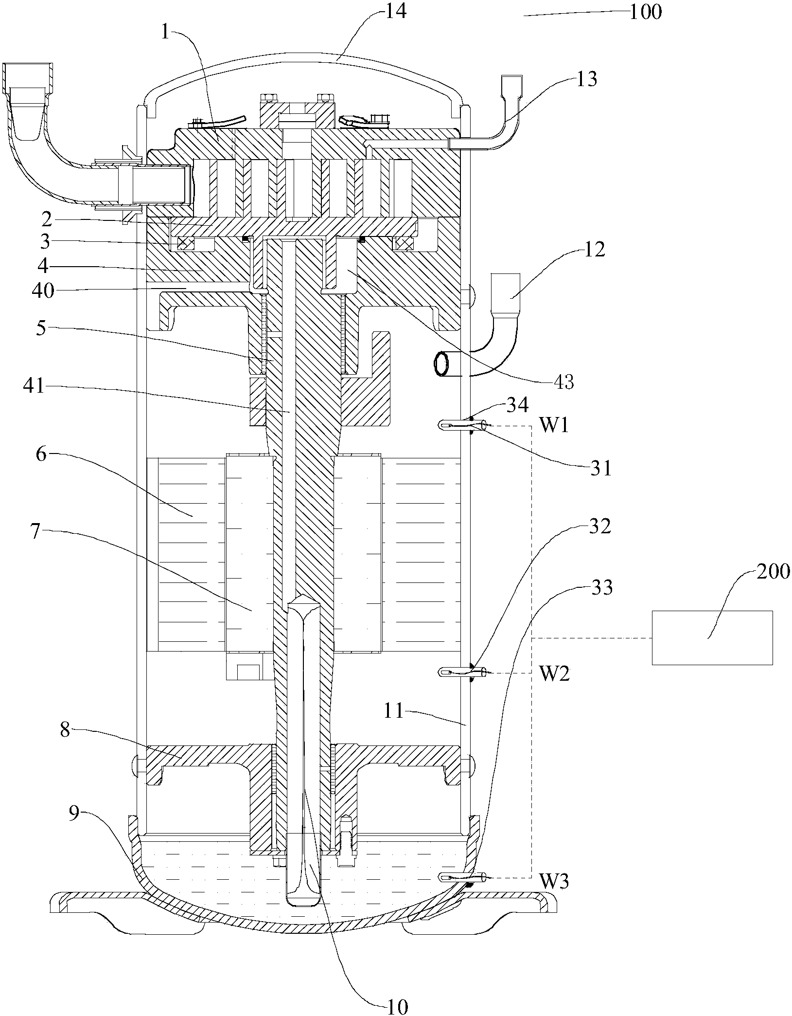
专利摘要:本申请实施例公开了一种水蒸气压缩机及制冷系统,水蒸气压缩机包括:多级压缩部和气液分离器;喷淋系统包括水泵、控制阀和喷嘴,水泵与控制阀相连通,控制阀与喷嘴连通;冷却管道的进口管道分别与压缩部和控制阀连通,冷却管道的出口管道与气液分离器的入口管道相连通,气液分离器的出液管道通过水泵与控制阀相连通,喷嘴连通冷却管道,气液分离器的排气管道与压缩部的下一级压缩部连通,解决了蒸气压缩机中出现热量损失无法产生更多的蒸气,从而限制了蒸气压缩机的能效提升的技术问题。

图片来源于网络,如有侵权,请联系删除
今年以来美的集团新获得专利授权1225个,较去年同期减少了26.43%。结合公司2024年年报财务数据,2024年公司在研发方面投入了162.33亿元,同比增11.31%。

图片来源于网络,如有侵权,请联系删除
通过天眼查大数据分析,美的集团股份有限公司共对外投资了127家企业,参与招投标项目4186次;财产线索方面有商标信息9707条,专利信息65520条,著作权信息124条;此外企业还拥有行政许可84个。
数据来源:天眼查APP
以上内容为证券之星据公开信息整理,由AI算法生成(网信算备310104345710301240019号),不构成投资建议。
目录 返回
首页
