至纯科技获得发明专利授权:“一种基于热能流场的晶圆清洗蚀刻装置”
证券之星消息,根据天眼查APP数据显示至纯科技(603690)新获得一项发明专利授权,专利名为“一种基于热能流场的晶圆清洗蚀刻装置”,专利申请号为CN202111677809.4,授权日为2025年6月27日。

图片来源于网络,如有侵权,请联系删除
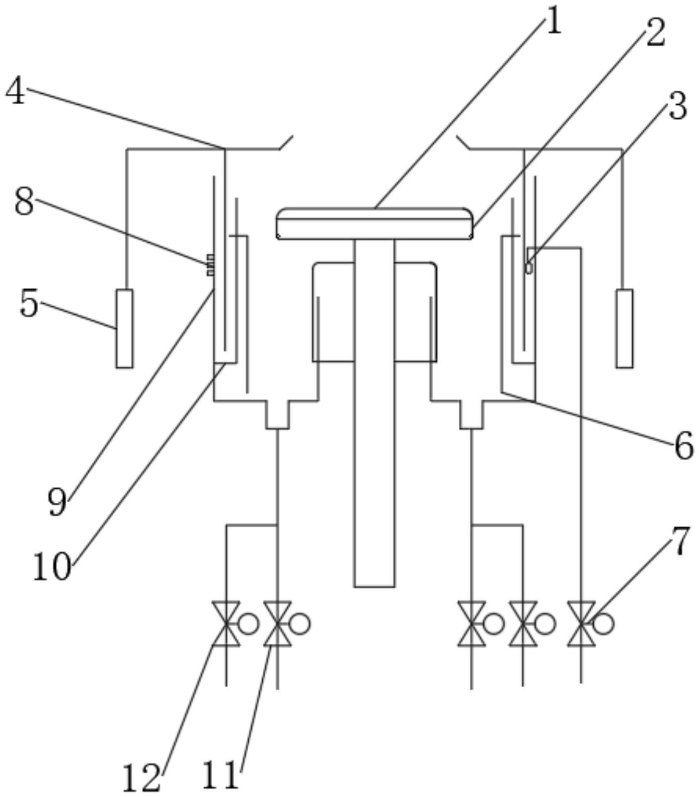
专利摘要:本发明提供一种基于热能流场的晶圆清洗蚀刻装置,包括:放置台,通过旋转轴固定于底板上;晶圆,设置于放置台上;第一喷淋模组,通过第一喷嘴向晶圆的表面喷淋清洗溶液;一第二喷淋模组,通过第二喷嘴向晶圆的表面喷淋雾化溶液以于晶圆的表面形成热能流场;第三喷淋模组,通过第三喷嘴向晶圆的表面喷淋蚀刻溶液;控制模块,用于控制旋转轴进行旋转,控制转动件进行转动以带动第一喷嘴移动至晶圆的上方并控制第一喷嘴喷淋清洗溶液,控制第二喷嘴喷淋雾化溶液,以及控制第三喷嘴喷淋蚀刻溶液。有益效果是本装置通过第二喷嘴在晶圆表面形成热能流场,在热能流场的作用下晶圆表面的蚀刻溶液能够稳定在预设温度,解决了温度的稳定性问题。

图片来源于网络,如有侵权,请联系删除
今年以来至纯科技新获得专利授权17个,较去年同期增加了6.25%。结合公司2024年年报财务数据,2024年公司在研发方面投入了2.67亿元,同比增19.17%。

图片来源于网络,如有侵权,请联系删除
通过天眼查大数据分析,上海至纯洁净系统科技股份有限公司共对外投资了45家企业,参与招投标项目76次;财产线索方面有商标信息102条,专利信息314条,著作权信息27条;此外企业还拥有行政许可42个。
数据来源:天眼查APP
以上内容为证券之星据公开信息整理,由AI算法生成(网信算备310104345710301240019号),不构成投资建议。
目录 返回
首页
