江航装备获得实用新型专利授权:“一种压力控制电子活门”
证券之星消息,根据天眼查APP数据显示江航装备(688586)新获得一项实用新型专利授权,专利名为“一种压力控制电子活门”,专利申请号为CN202422029341.3,授权日为2025年7月1日。

图片来源于网络,如有侵权,请联系删除
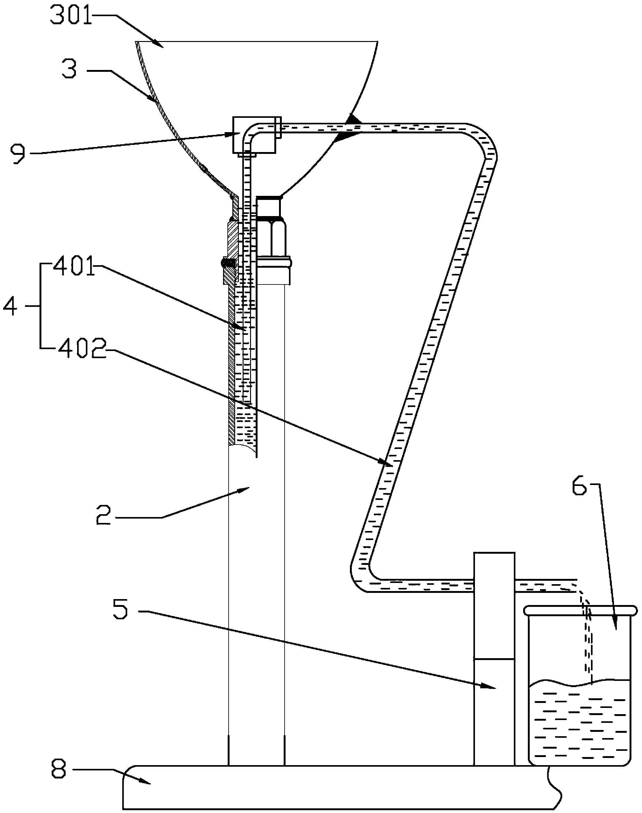
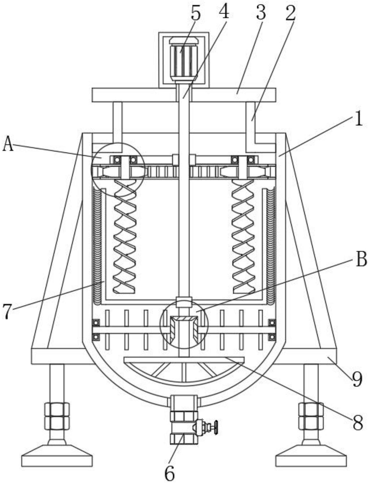
专利摘要:本实用新型属于有人飞行器生命保障系统,具体涉及一种压力控制电子活门。供氧呼气腔活门采用机械结构,其压力控制仅依据感压机构,不能很好地满足当前的呼吸腔压力精确控制。本实用新型压力控制电子活门包括步进电机、壳体、导柱、弹簧和活门组件,其中所述壳体为环形结构且在壁体上具有开口,壳体前端具有法兰结构,安装在供氧调节器呼吸腔开口处,壳体后端密封安装步进电机;在步进电机前端固定安装有导柱,该导柱为环形结构且具有径向凸台,所述弹簧套装在导柱上,弹簧前端抵接所述活门组件。通过步进电机对活门的开启量进行精准控制,保证呼吸腔压力在要求范围内。

图片来源于网络,如有侵权,请联系删除
今年以来江航装备新获得专利授权9个,与去年同期持平。结合公司2024年年报财务数据,2024年公司在研发方面投入了1.27亿元,同比增9.26%。
通过天眼查大数据分析,合肥江航飞机装备股份有限公司共对外投资了5家企业,参与招投标项目615次;财产线索方面有商标信息47条,专利信息297条;此外企业还拥有行政许可23个。
数据来源:天眼查APP
以上内容为证券之星据公开信息整理,由AI算法生成(网信算备310104345710301240019号),不构成投资建议。
目录 返回
首页
