盈动财经

创益通获得实用新型专利授权:“圆柱电池汇流排”

08 07月
作者:小微|{/foreach}{/if}

证券之星消息,根据天眼查APP数据显示创益通(300991)新获得一项实用新型专利授权,专利名为“圆柱电池汇流排”,专利申请号为CN202421670676.7,授权日为2025年7月8日。

创益通获得实用新型专利授权:“圆柱电池汇流排”
图片来源于网络,如有侵权,请联系删除

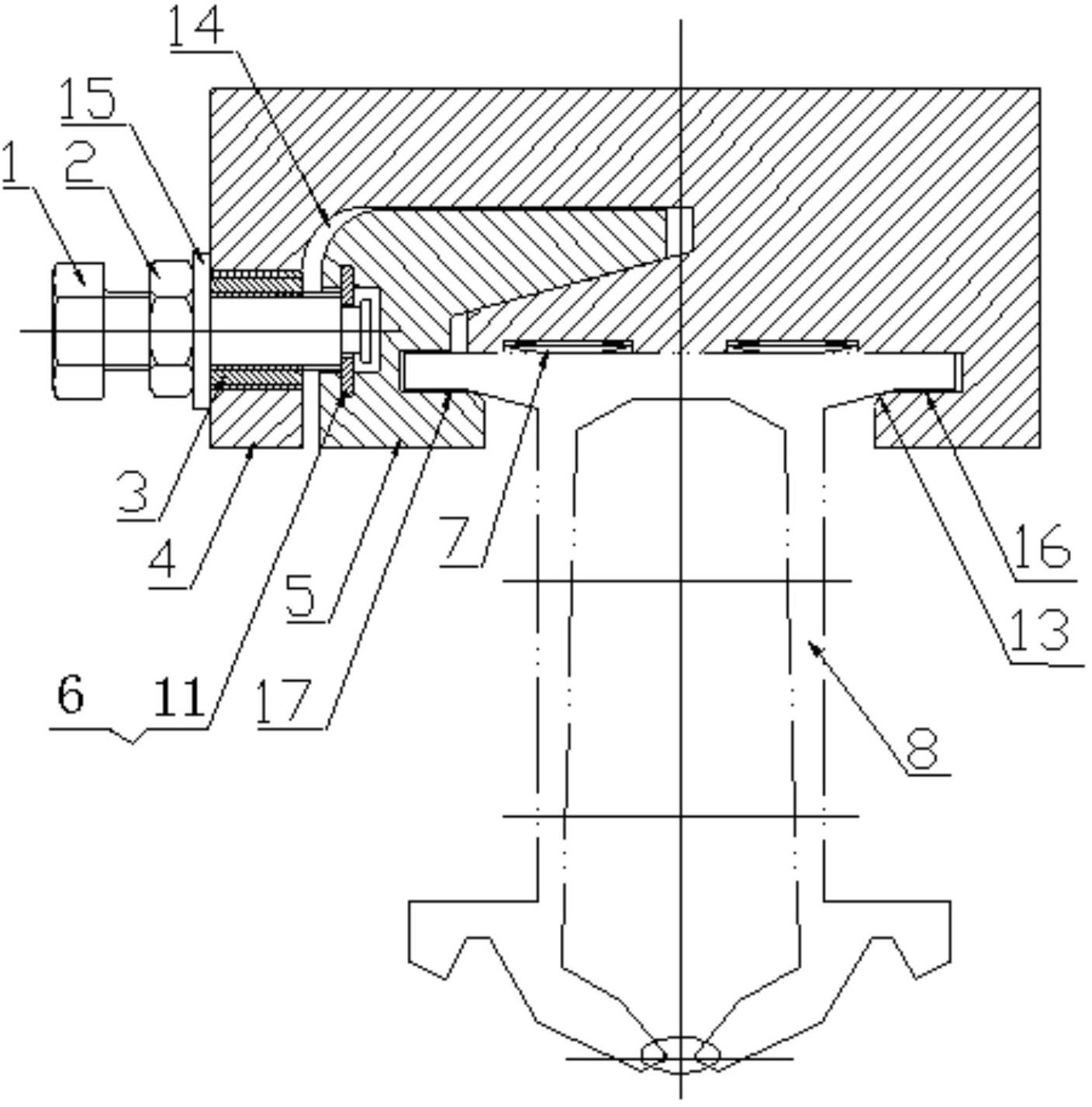
专利摘要:本实用新型公开一种圆柱电池汇流排,包括本体、多个第一折弯部、多个第一焊接部、多个第二折弯部和多个第二焊接部;通过设置每相邻的两个主体导通连接,多个主体前后错位设置,将多个第一折弯部分别设置于对应主体的一端并导通连接,将多个第一焊接部分别与对应的第一折弯部导通连接,将多个第二折弯部分别设置于对应主体的另一端并导通连接,将多个第二焊接部分别与对应的第二折弯部导通连接,这种圆柱电池汇流排能够合理利用空间,提升空间利用率,使得整个电池模组的体积更小;通过第一折弯部和第二折弯部的设置,能够有效增强焊接部与本体的连接结构强度,具有良好的缓冲性能,在汽车行驶过程中不容易造成断裂,提升产品质量,满足现有需求。

创益通获得实用新型专利授权:“圆柱电池汇流排”
图片来源于网络,如有侵权,请联系删除

今年以来创益通新获得专利授权34个,较去年同期增加了100%。结合公司2024年年报财务数据,2024年公司在研发方面投入了4057.89万元,同比增3.85%。

创益通获得实用新型专利授权:“圆柱电池汇流排”
图片来源于网络,如有侵权,请联系删除

通过天眼查大数据分析,深圳市创益通技术股份有限公司共对外投资了5家企业,参与招投标项目8次;财产线索方面有商标信息25条,专利信息588条,著作权信息2条;此外企业还拥有行政许可8个。

数据来源:天眼查APP

以上内容为证券之星据公开信息整理,由AI算法生成(网信算备310104345710301240019号),不构成投资建议。

浏览45.5k
返回
目录
返回
首页
陆家嘴集团转让上海鸿霈置业100%股债,转让底价9.45亿元 欧债收益率集体上涨,英国10年期国债收益率涨3.2个基点

Copyright © 2024 dw 版权所有

备案号: 蜀ICP备2024051291号-17

盈动财经专业为您提供视野洞察、能源期货、黄金市场、金融市场、财经专题等财经方面资讯,盈动财经是一个专业财经领域资讯服务者。

本站部分内容为转载,不代表本站立场,如有侵权请联系处理。