三和管桩获得发明专利授权:“拆装便捷的空心混凝土管桩生产用模具及其使用方法”
证券之星消息,根据天眼查APP数据显示三和管桩(003037)新获得一项发明专利授权,专利名为“拆装便捷的空心混凝土管桩生产用模具及其使用方法”,专利申请号为CN202211030042.0,授权日为2025年7月8日。

图片来源于网络,如有侵权,请联系删除
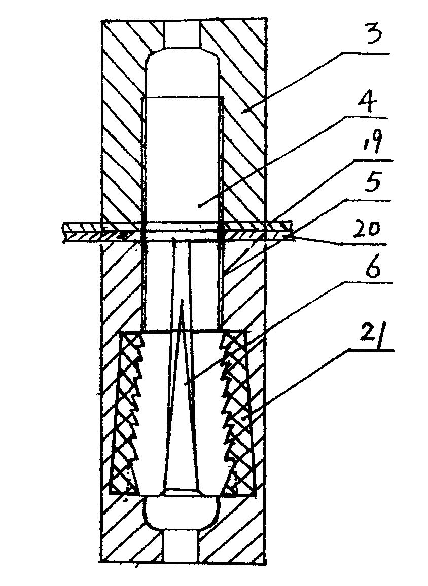
专利摘要:本发明涉及混凝土管桩生产技术领域,具体公开一种拆装便捷的空心混凝土管桩生产用模具及其使用方法,该模具包括沿竖直方向设置的立式管模组件,立式管模组件包括第一分体模及第二分体模,第一分体模及第二分体模的内部分别设有第一分体成形腔及第二分体成形腔,第一分体模与第二分体模相互靠近的侧面上分别设有插接臂及插接槽,插接臂与所述插接槽分别设有用于连通第一分体成形腔与第二分体成形腔的连通口,第一分体成形腔及第二分体成形腔的下端分别设有脱模开口,第一分体成形腔及第二分体成形腔的上端分别设有用于灌注浆料的灌注口。模具的安装与拆卸方便快捷,管桩脱模容易,同时还能够用于生产中间空心为非正圆形结构的异型管桩。
今年以来三和管桩新获得专利授权10个,较去年同期减少了33.33%。结合公司2024年年报财务数据,2024年公司在研发方面投入了5044.69万元,同比减0.48%。
通过天眼查大数据分析,广东三和管桩股份有限公司共对外投资了42家企业,参与招投标项目89次;财产线索方面有商标信息39条,专利信息336条;此外企业还拥有行政许可66个。
数据来源:天眼查APP
以上内容为证券之星据公开信息整理,由AI算法生成(网信算备310104345710301240019号),不构成投资建议。
目录 返回
首页
