兆龙互连获得实用新型专利授权:“电连接器”
证券之星消息,根据天眼查APP数据显示兆龙互连(300913)新获得一项实用新型专利授权,专利名为“电连接器”,专利申请号为CN202421681957.2,授权日为2025年7月11日。

图片来源于网络,如有侵权,请联系删除
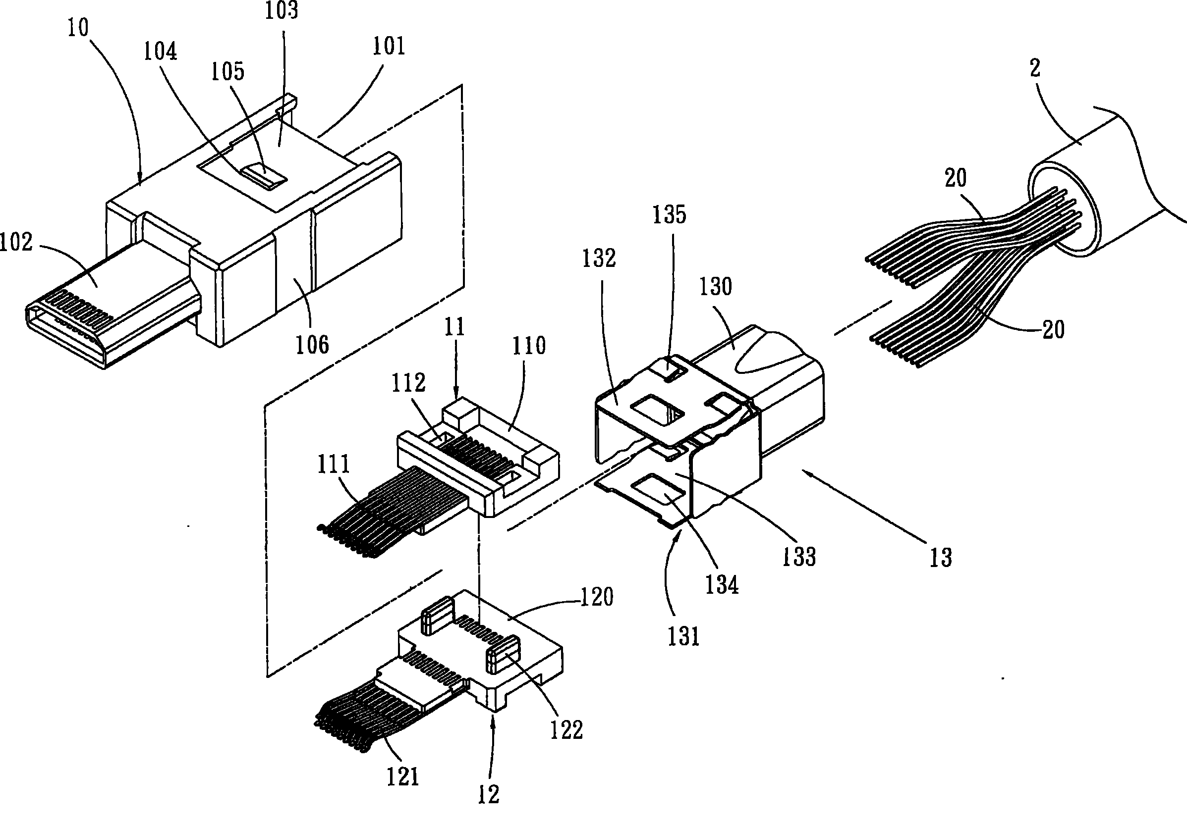
专利摘要:本申请提供一种电连接器,由多个电连接器构件组合而构成,所述多个电连接器构件分别具有导电端子,因此,在电连接器设计完成后,仍然可以通过组合的多个电连接器构件的调整,而达成客制化调整电连接器的导电端子的数量与结构,以满足电子设备对于信号传输的要求。

图片来源于网络,如有侵权,请联系删除
今年以来兆龙互连新获得专利授权11个,较去年同期增加了57.14%。结合公司2024年年报财务数据,2024年公司在研发方面投入了6558.69万元,同比增12.03%。

图片来源于网络,如有侵权,请联系删除
通过天眼查大数据分析,浙江兆龙互连科技股份有限公司共对外投资了6家企业,参与招投标项目38次;财产线索方面有商标信息41条,专利信息173条,著作权信息6条;此外企业还拥有行政许可20个。
数据来源:天眼查APP
以上内容为证券之星据公开信息整理,由AI算法生成(网信算备310104345710301240019号),不构成投资建议。
目录 返回
首页
