盈动财经

石头科技获得实用新型专利授权:“底盘装置、清洁基站及清洁系统”

18 07月
作者:小微|{/foreach}{/if}

证券之星消息,根据天眼查APP数据显示石头科技(688169)新获得一项实用新型专利授权,专利名为“底盘装置、清洁基站及清洁系统”,专利申请号为CN202422333779.0,授权日为2025年7月18日。

石头科技获得实用新型专利授权:“底盘装置、清洁基站及清洁系统”
图片来源于网络,如有侵权,请联系删除

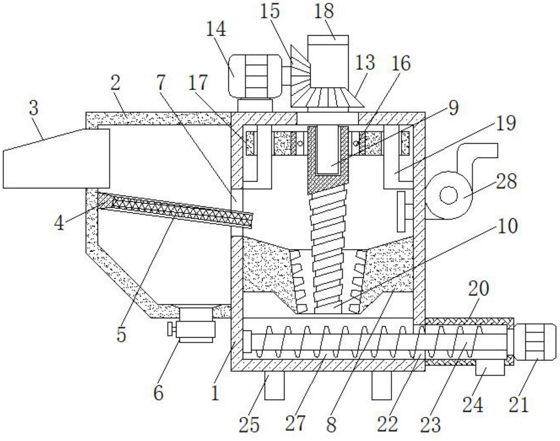
专利摘要:本申请提供了一种底盘装置、清洁基站及清洁系统,涉及智能家具技术领域,包括底盘组件、刮洗组件、提升结构以及限位结构;刮洗组件用于对能够进行升降运动且能够进行正转和反转的抹布组件进行清洗;限位结构连接刮洗组件,用于限制刮洗组件相对于底盘组件旋转;提升结构设置于底盘组件与刮洗组件之间,提升结构至少用于带动刮洗组件沿远离底盘组件的方向抬升,使抹布组件能够在正转和反转状态的至少部分时段内与刮洗组件保持接触。本申请提供的底盘装置,可实现对抹布组件的双向清洗,抹布的清洗效率提升,抹布清洗效果提升,从而能够有效地避免因抹布清洁度差影响清洁设备对待清洁面如地面等的清洗效果,从而提升用户体验。

今年以来石头科技新获得专利授权220个,较去年同期增加了218.84%。结合公司2024年年报财务数据,2024年公司在研发方面投入了9.71亿元,同比增56.93%。

通过天眼查大数据分析,北京石头世纪科技股份有限公司共对外投资了6家企业,参与招投标项目9次;财产线索方面有商标信息794条,专利信息1594条,著作权信息53条;此外企业还拥有行政许可13个。

数据来源:天眼查APP

以上内容为证券之星据公开信息整理,由AI算法生成(网信算备310104345710301240019号),不构成投资建议。

浏览45.4k
返回
目录
返回
首页
2025年上半年塔吉克斯坦粟特州工业产值达181亿索莫尼 李强同澳大利亚总理阿尔巴尼斯共同出席第八届中澳工商界首席执行官圆桌会

Copyright © 2024 dw 版权所有

备案号: 蜀ICP备2024051291号-17

盈动财经专业为您提供视野洞察、能源期货、黄金市场、金融市场、财经专题等财经方面资讯,盈动财经是一个专业财经领域资讯服务者。

本站部分内容为转载,不代表本站立场,如有侵权请联系处理。