博众精工获得发明专利授权:“具有中间定位功能的加工装置”
证券之星消息,根据天眼查APP数据显示博众精工(688097)新获得一项发明专利授权,专利名为“具有中间定位功能的加工装置”,专利申请号为CN202310865103.3,授权日为2025年7月18日。

图片来源于网络,如有侵权,请联系删除
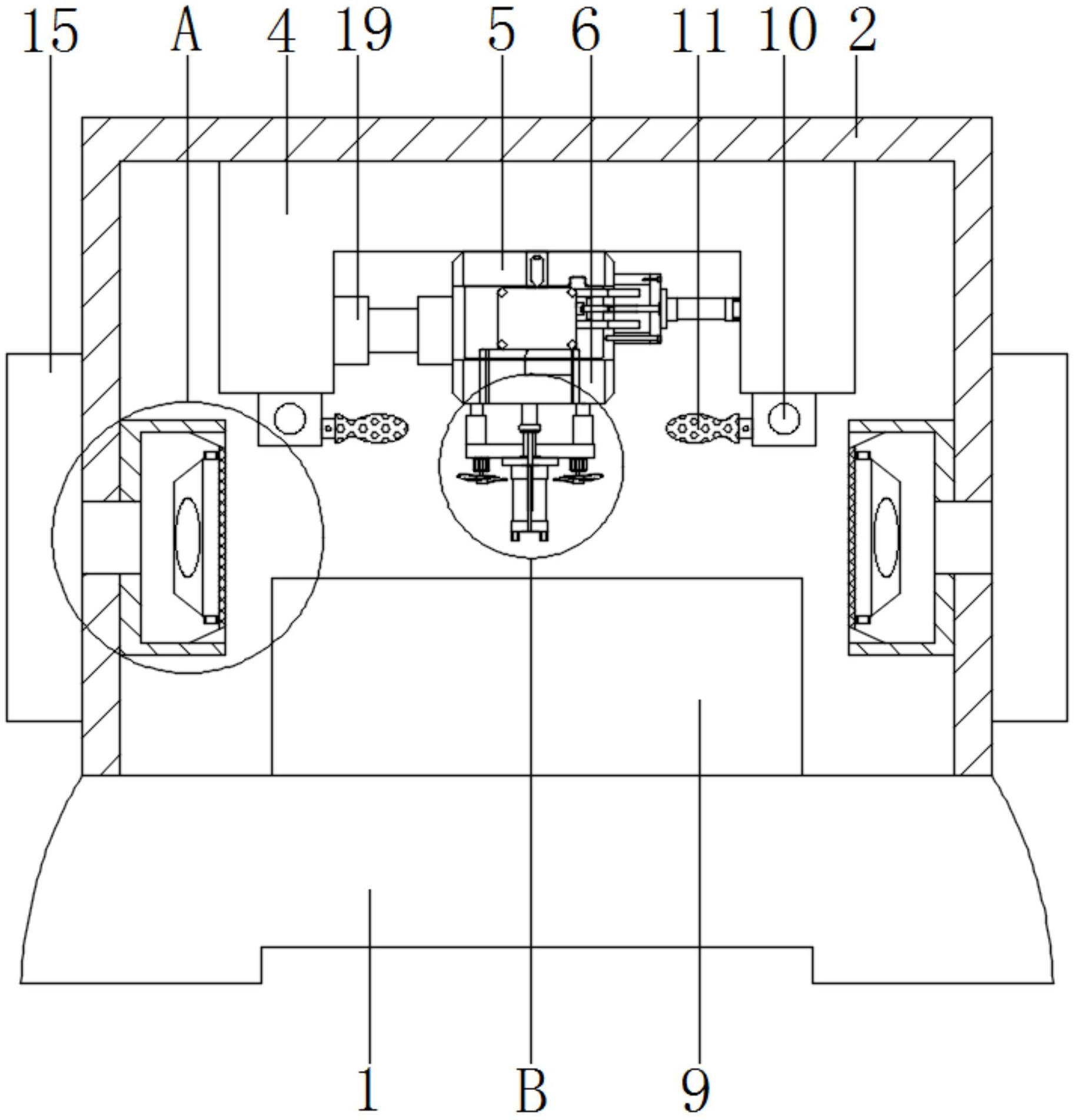
专利摘要:本发明涉及自动加工技术领域,具体公开了一种具有中间定位功能的加工装置,该具有中间定位功能的加工装置中,机架具有上料位、加工位和下料位;转移组件将带有工件的料盘从上料位转移至加工位,且将加工位的空的料盘转移至下料位;加工组件设于机架,用于将位于加工位的工件的取下并对工件加工;中间定位组件设于机架,用于对完成加工的工件进行定位。借助于上述设置,该具有中间定位功能的加工装置通过设置加工组件以完成对工件的加工,通过中间定位组件的设置,对完成加工的工件进行再次定位,此时,工件的位置更加精准,不会受到前面工艺和变换工位的干扰,能更加精准的参与到后续的组装工艺中,避免了出现位置偏差,提高了成品率。

图片来源于网络,如有侵权,请联系删除
今年以来博众精工新获得专利授权89个,较去年同期减少了58.99%。结合公司2024年年报财务数据,2024年公司在研发方面投入了5.14亿元,同比增3.4%。

图片来源于网络,如有侵权,请联系删除
通过天眼查大数据分析,博众精工科技股份有限公司共对外投资了27家企业,参与招投标项目108次;财产线索方面有商标信息330条,专利信息4433条,著作权信息398条;此外企业还拥有行政许可36个。
数据来源:天眼查APP
以上内容为证券之星据公开信息整理,由AI算法生成(网信算备310104345710301240019号),不构成投资建议。
目录 返回
首页
