中国神华获得发明专利授权:“可视化重载机车行车指导装置提示功能的测试系统和方法”
证券之星消息,根据天眼查APP数据显示中国神华(601088)新获得一项发明专利授权,专利名为“可视化重载机车行车指导装置提示功能的测试系统和方法”,专利申请号为CN202510015056.2,授权日为2025年7月25日。

图片来源于网络,如有侵权,请联系删除
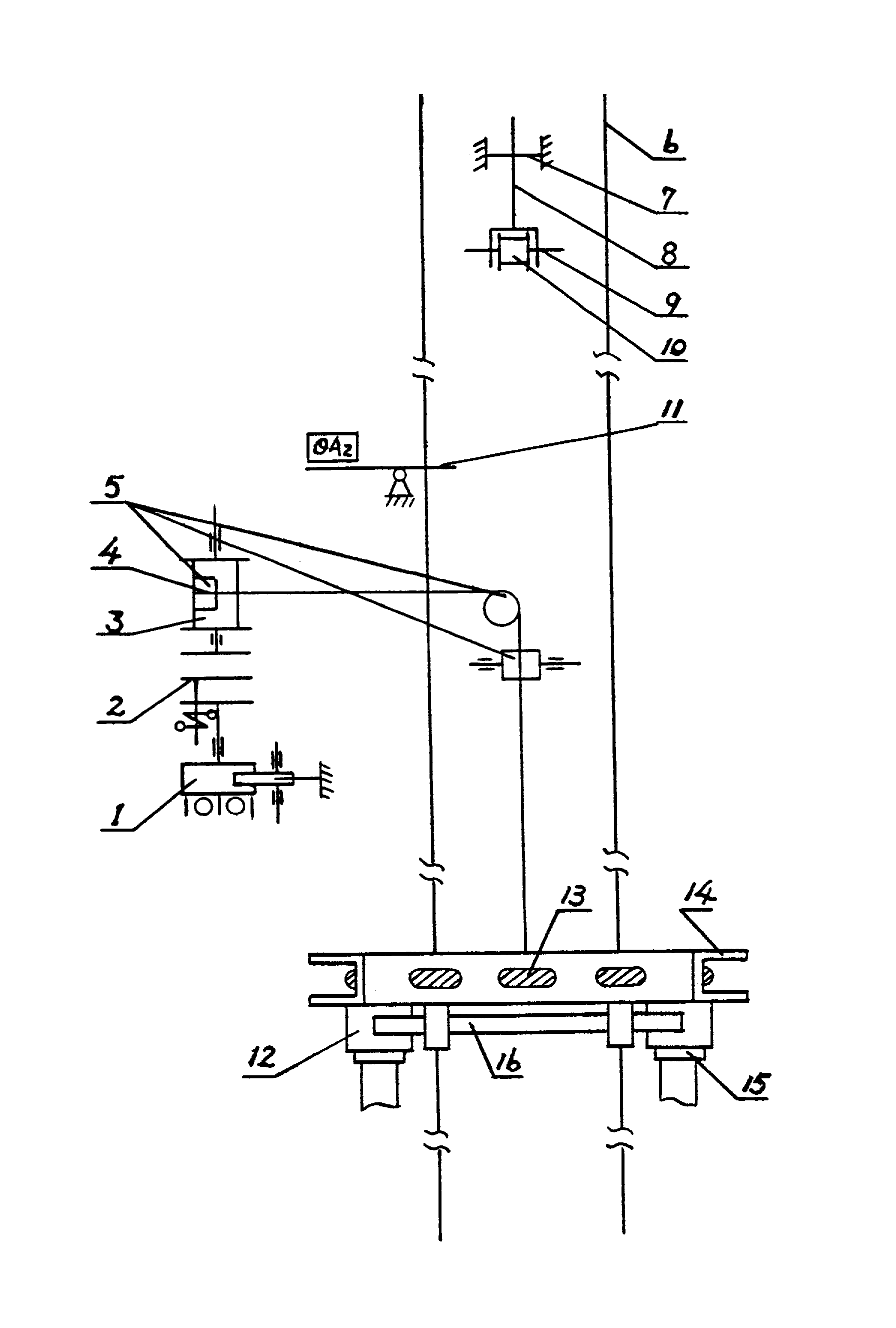
专利摘要:本发明公开了可视化重载机车行车指导装置提示功能的测试系统和方法,包括如下步骤:S1、采集重载机车的多维运行数据并构建数据集;S2、对数据集进行处理,根据数据关联性生成初始拓扑图结构;S3、使用图卷积网络对初始拓扑图结构进行特征提取,生成高维特征向量;S4、通过因果推断方法构建因果关系模型,识别关键因果节点及因果路径;S5、利用鹰群优化算法对初始拓扑图结构进行动态优化;S6、对优化后的提示功能逻辑进行动态验证,生成提示功能测试结果和测试反馈数据;S7、根据测试反馈数据调整提示功能逻辑设计和参数,多轮迭代优化提示功能性能。本发明结合图卷积网络、因果推断与鹰群优化算法,实现重载机车提示功能的动态优化与测试。

图片来源于网络,如有侵权,请联系删除
今年以来中国神华新获得专利授权20个,较去年同期增加了33.33%。结合公司2024年年报财务数据,2024年公司在研发方面投入了27.27亿元,同比减9.31%。

图片来源于网络,如有侵权,请联系删除
通过天眼查大数据分析,中国神华能源股份有限公司共对外投资了79家企业,参与招投标项目7382次;财产线索方面有专利信息6077条,著作权信息49条;此外企业还拥有行政许可13个。
数据来源:天眼查APP
以上内容为证券之星据公开信息整理,由AI算法生成(网信算备310104345710301240019号),不构成投资建议。
目录 返回
首页
