兖矿能源获得实用新型专利授权:“超前液压支架移架时直线度检测装置”
证券之星消息,根据天眼查APP数据显示兖矿能源(600188)新获得一项实用新型专利授权,专利名为“超前液压支架移架时直线度检测装置”,专利申请号为CN202422435858.2,授权日为2025年7月29日。

图片来源于网络,如有侵权,请联系删除
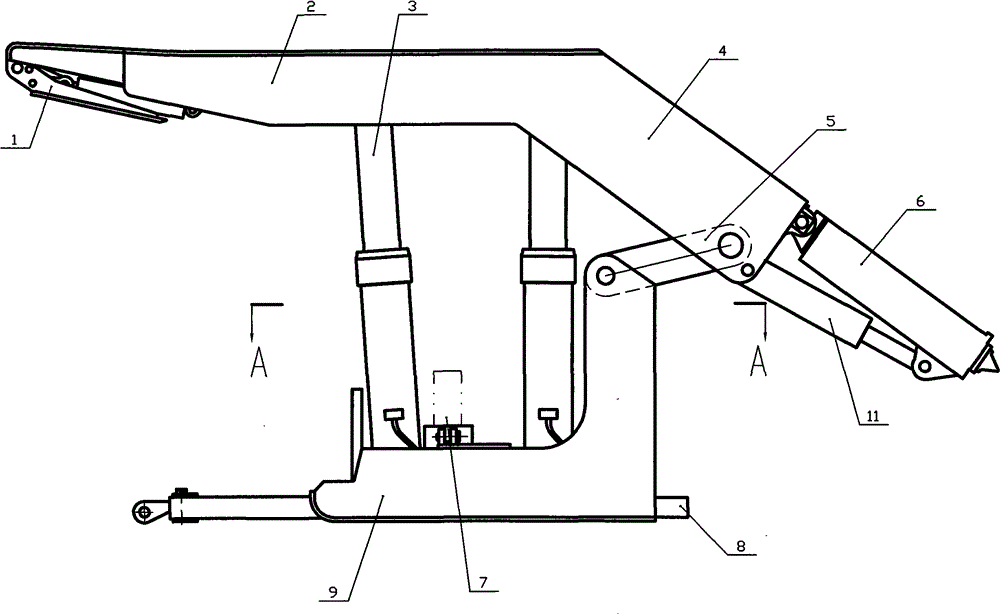
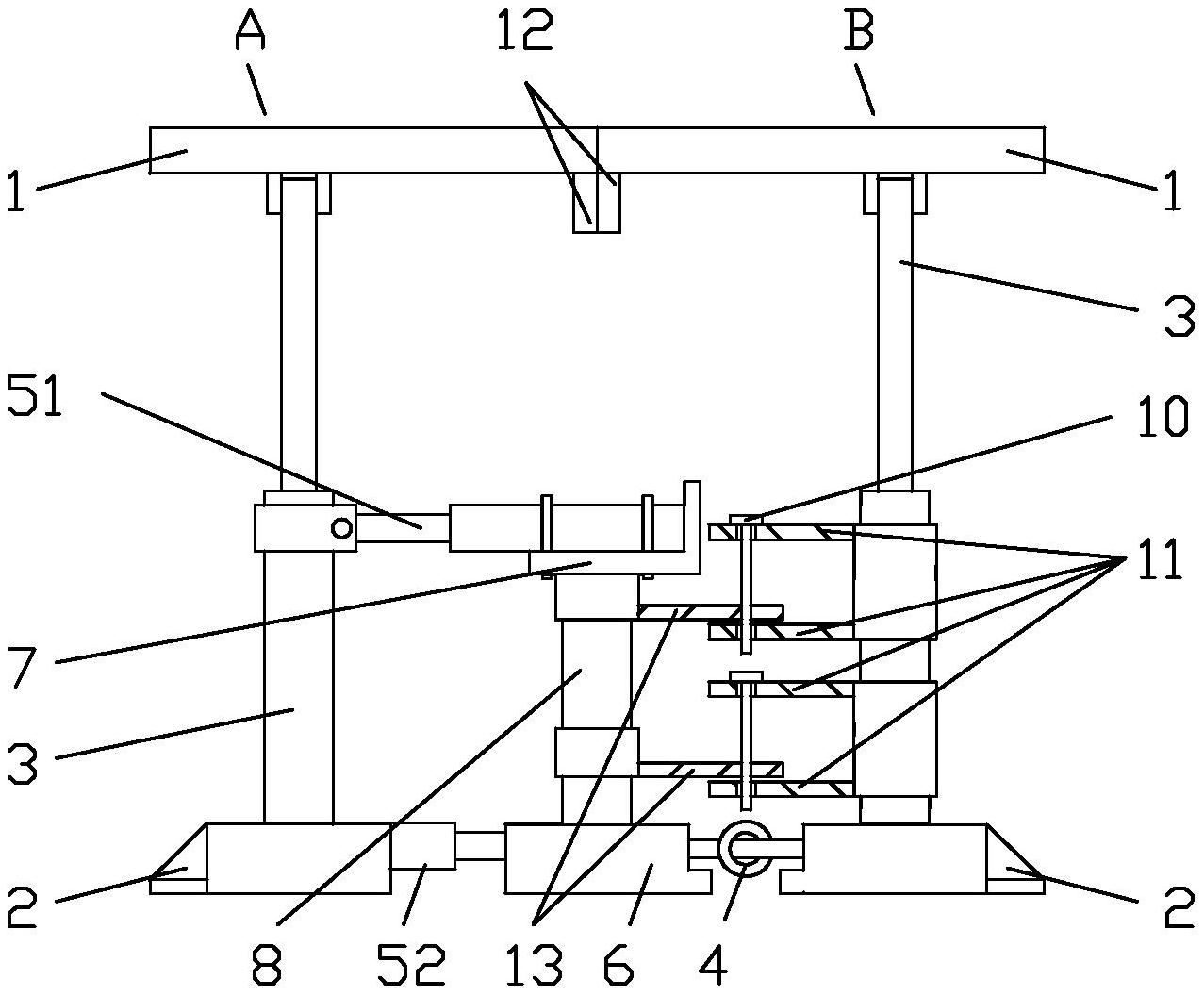
专利摘要:本实用新型涉及煤矿巷道支护检测技术领域,具体为超前液压支架移架时直线度检测装置,包括多组底座和顶梁,每个所述底座顶部固定有掩护梁,每组所述顶梁之间设有工业相机,每组所述底座之间设有角度传感器,每组所述顶梁之间还设有左部防倒千斤顶和右部防倒千斤顶,每组所述底座之间设有下部防倒千斤顶,后端每两个所述底座之间设有后部连接油缸,前端每两个所述底座之间设有前部连接油缸,每个所述后部连接油缸右端顶部设有上部连接油缸;本实用新型通过立柱可使得后部顶梁上下移动,从而可使得整个设备紧贴巷道,从而方便移动后端设备,同时保证整个设备的稳定性。

图片来源于网络,如有侵权,请联系删除
今年以来兖矿能源新获得专利授权141个,较去年同期减少了14.55%。结合公司2024年年报财务数据,2024年公司在研发方面投入了27.35亿元,同比减6.1%。

图片来源于网络,如有侵权,请联系删除
通过天眼查大数据分析,兖矿能源集团股份有限公司共对外投资了60家企业,参与招投标项目23655次;财产线索方面有商标信息316条,专利信息2180条,著作权信息60条;此外企业还拥有行政许可49个。
数据来源:天眼查APP
以上内容为证券之星据公开信息整理,由AI算法生成(网信算备310104345710301240019号),不构成投资建议。
目录 返回
首页
