海星股份获得实用新型专利授权:“一种添加槽液预热装置”
证券之星消息,根据天眼查APP数据显示海星股份(603115)新获得一项实用新型专利授权,专利名为“一种添加槽液预热装置”,专利申请号为CN202422458658.9,授权日为2025年8月1日。

图片来源于网络,如有侵权,请联系删除
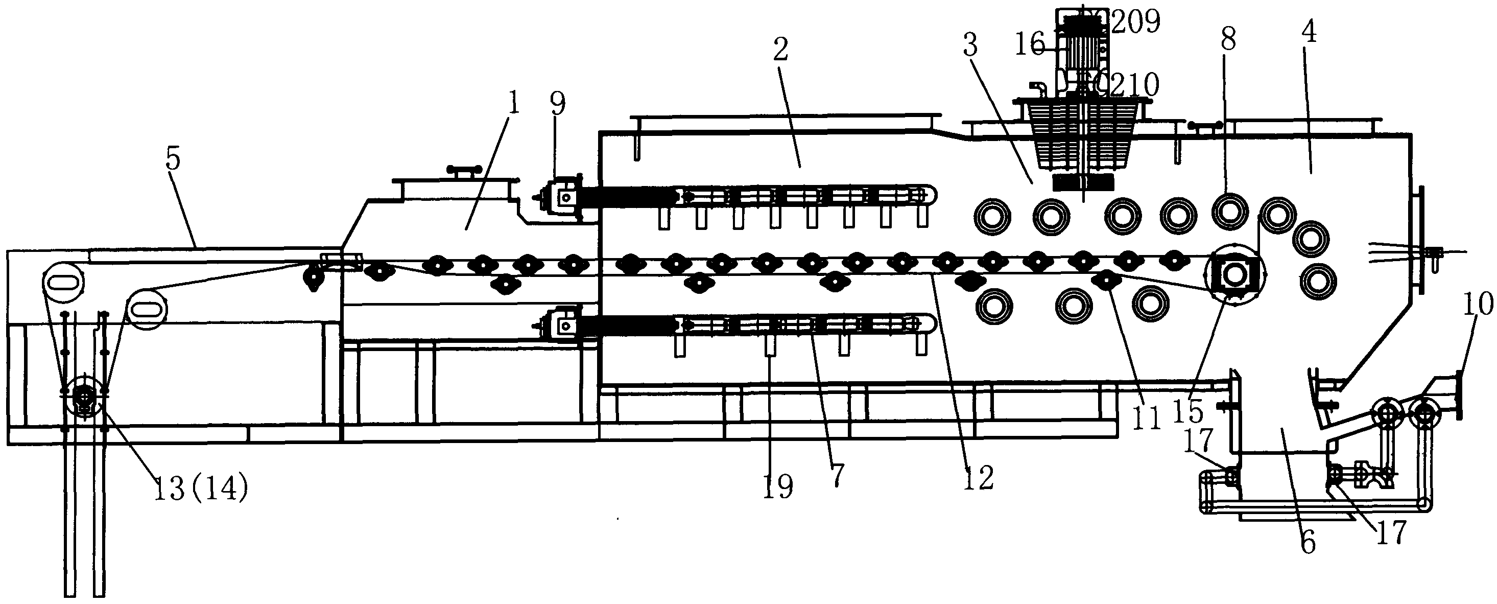
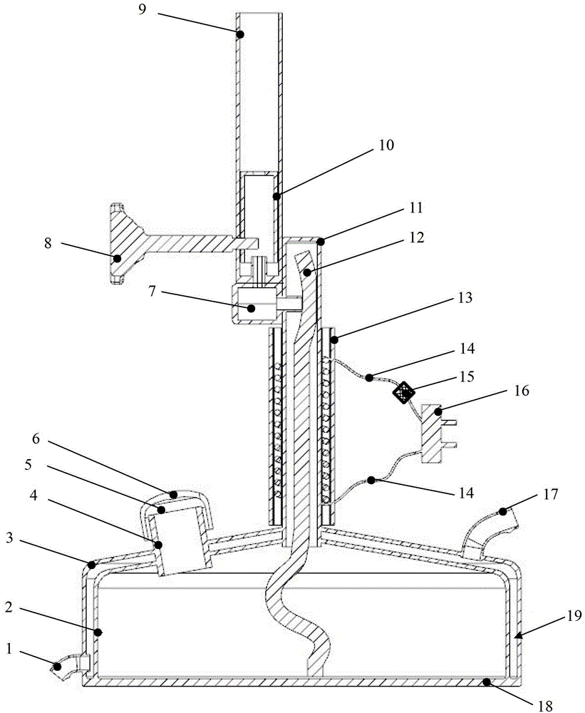
专利摘要:本实用新型涉及介质输送技术领域,具体涉及一种添加槽液预热装置,包括槽体和管道,所述槽体内部存储有高温液体,所述管道的两端分别连接有入液口和三通阀的入口,所述入液口和所述三通阀均位于槽体的外部,位于槽体内部的部分管道反复卷绕形成波浪形结构并浸没在高温液体内。相较于传统方法,本技术方案在腐蚀生产过程中,通过在槽液进入反应槽前对其进行预热,使槽液的温度升高至预设温度,从而使反应槽内部的槽液温度与尚未加入反应槽内的槽液温度一致,提升腐蚀反应的稳定性、有利于提高产品质量以及缩减能耗,生产效率也能得到释放。

图片来源于网络,如有侵权,请联系删除
今年以来海星股份新获得专利授权13个,较去年同期增加了550%。结合公司2024年年报财务数据,2024年公司在研发方面投入了1.32亿元,同比增0.99%。

图片来源于网络,如有侵权,请联系删除
通过天眼查大数据分析,南通海星电子股份有限公司共对外投资了5家企业,参与招投标项目18次;财产线索方面有商标信息3条,专利信息186条;此外企业还拥有行政许可47个。
数据来源:天眼查APP
以上内容为证券之星据公开信息整理,由AI算法生成(网信算备310104345710301240019号),不构成投资建议。
目录 返回
首页
