盈动财经

京东方A获得发明专利授权:“薄膜晶体管及其制备方法、阵列基板”

06 08月
作者:小微|{/foreach}{/if}

证券之星消息,根据天眼查APP数据显示京东方A(000725)新获得一项发明专利授权,专利名为“薄膜晶体管及其制备方法、阵列基板”,专利申请号为CN202110591152.3,授权日为2025年8月5日。

京东方A获得发明专利授权:“薄膜晶体管及其制备方法、阵列基板”
图片来源于网络,如有侵权,请联系删除

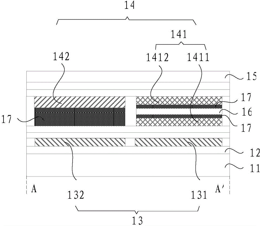
专利摘要:一种薄膜晶体管、阵列基板以及薄膜晶体管的制备方法,该薄膜晶体管包括:衬底基板;依次层叠设置在衬底基板上的第一有源层、第一绝缘层和第二有源层;其中,第一有源层通过位于第一绝缘层中的第一过孔结构与第二有源层接触,第一有源层与第二有源层未接触的部分通过第一绝缘层间隔开,该薄膜晶体管具有多个有源层结构,使得电荷分别聚集在每个有源层的两个表面,从而使得聚集在有源层的表面的电荷的数量成倍地增加,进而使得薄膜晶体管的开态电流成倍地增加。

京东方A获得发明专利授权:“薄膜晶体管及其制备方法、阵列基板”
图片来源于网络,如有侵权,请联系删除

今年以来京东方A新获得专利授权2333个,较去年同期增加了0.26%。结合公司2024年年报财务数据,2024年公司在研发方面投入了131.23亿元,同比增15.94%。

数据来源:天眼查APP

以上内容为证券之星据公开信息整理,由AI算法生成(网信算备310104345710301240019号),不构成投资建议。

浏览47.3k
返回
目录
返回
首页
英国10年期国债收益率跌至逾四周低点4.498% 8月首只转债发行启动 市场供需失衡仍将延续

Copyright © 2024 dw 版权所有

备案号: 蜀ICP备2024051291号-17

盈动财经专业为您提供视野洞察、能源期货、黄金市场、金融市场、财经专题等财经方面资讯,盈动财经是一个专业财经领域资讯服务者。

本站部分内容为转载,不代表本站立场,如有侵权请联系处理。