华帝股份获得实用新型专利授权:“一种燃烧器”
证券之星消息,根据天眼查APP数据显示华帝股份(002035)新获得一项实用新型专利授权,专利名为“一种燃烧器”,专利申请号为CN202421836248.7,授权日为2025年8月8日。

图片来源于网络,如有侵权,请联系删除
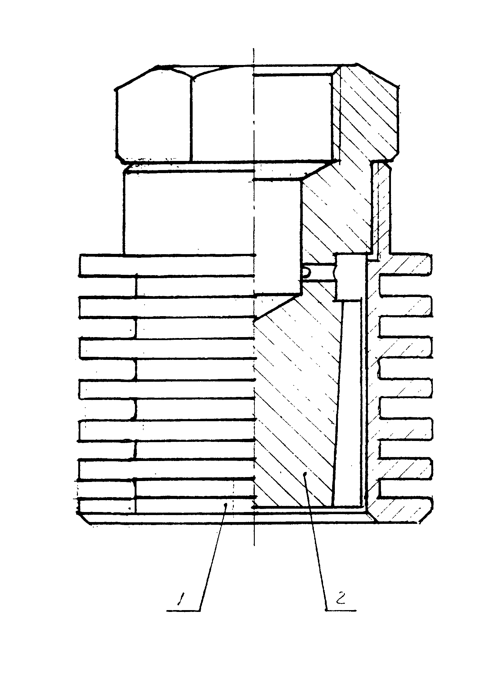
专利摘要:本实用新型公开了一种燃烧器,包括分火器,还包括内盖和外盖,其中所述内盖可拆卸地或者固定地设置在所述分火器上,所述外盖通过所述内盖与所述分火器装配在一起,在所述外盖内限定有下端敞开的容纳腔,所述内盖可拆卸地套设于所述容纳腔内,在所述外盖上开设有外火孔,在所述内盖上开设有与所述外火孔相连通的内火孔。其结构简单,可有效降低产品的生产成本,从而进一步提高产品的竞争力。

图片来源于网络,如有侵权,请联系删除
今年以来华帝股份新获得专利授权593个,较去年同期增加了11.47%。结合公司2024年年报财务数据,2024年公司在研发方面投入了2.63亿元,同比增6.14%。
通过天眼查大数据分析,华帝股份有限公司共对外投资了19家企业,参与招投标项目377次;财产线索方面有商标信息904条,专利信息8564条,著作权信息152条;此外企业还拥有行政许可85个。
数据来源:天眼查APP
以上内容为证券之星据公开信息整理,由AI算法生成(网信算备310104345710301240019号),不构成投资建议。
目录 返回
首页
