盈动财经

格力电器获得实用新型专利授权:“一种具有多段散热流道的电机”

08 08月
作者:小微|{/foreach}{/if}

证券之星消息,根据天眼查APP数据显示格力电器(000651)新获得一项实用新型专利授权,专利名为“一种具有多段散热流道的电机”,专利申请号为CN202422455084.X,授权日为2025年8月8日。

格力电器获得实用新型专利授权:“一种具有多段散热流道的电机”
图片来源于网络,如有侵权,请联系删除

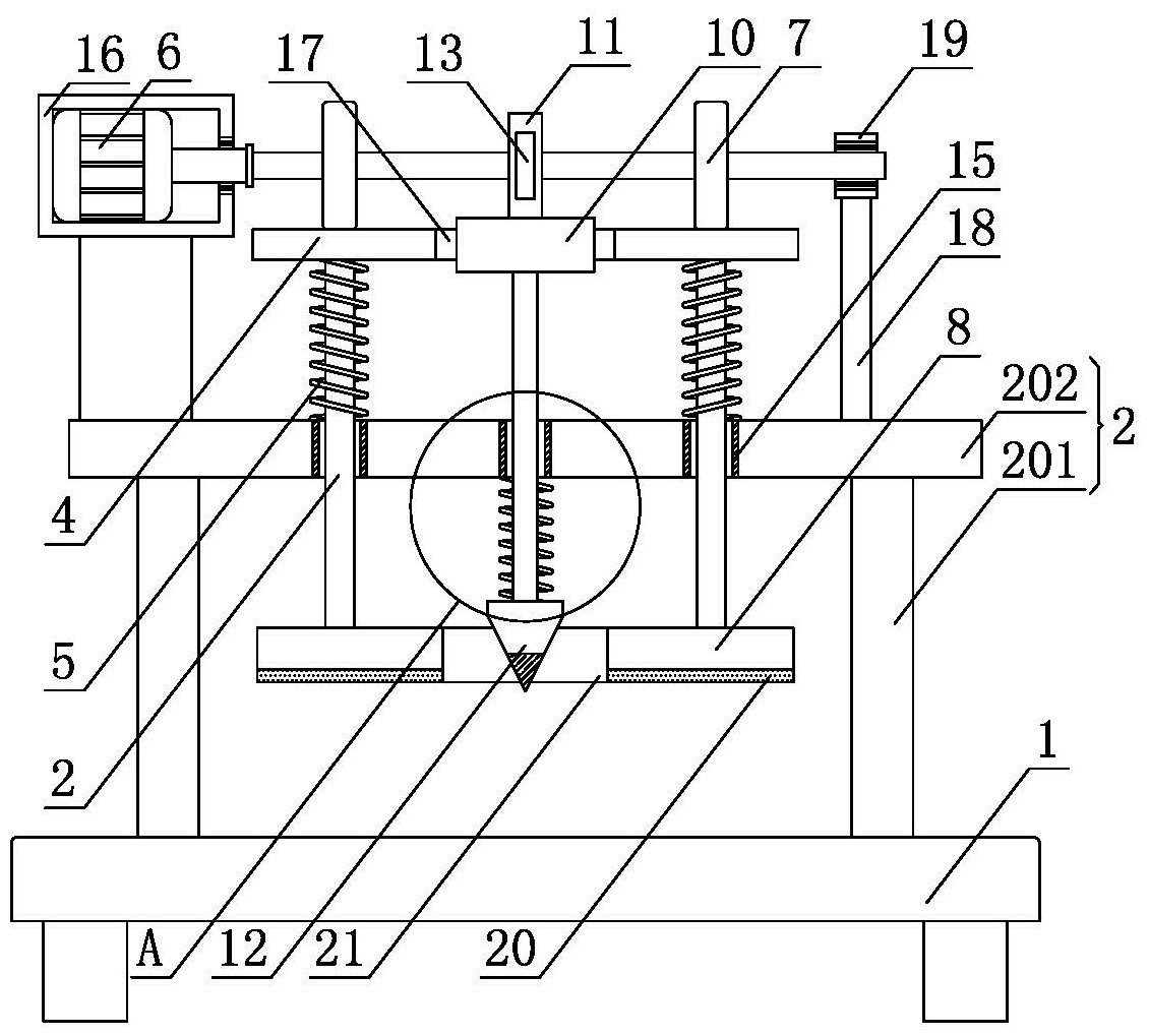
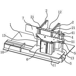
专利摘要:本实用新型提供一种具有多段散热流道的电机,其包括:电机壳体、第一径向轴承、定转子组件、轴向轴承和第二径向轴承,第一部分段:y=A1x2?A2x,2.18≤A1≤3.93;1.18≤A2≤2.93;第二部分段:y=B1x4?B2x3+B3x2?B4x,4.47≤B1≤13.25;32.93≤B2≤13.92;27.91≤B3≤14.94;6.50≤B4≤9.24,第三部分段:y=C1x2+C2x?C3,?1.38≤C1≤?1.29;0.32≤C2≤0.39;0.008≤C3≤0.034。根据本实用新型能够解决现有电机存在散热性能较差,电机内部温度分布不均的问题。

格力电器获得实用新型专利授权:“一种具有多段散热流道的电机”
图片来源于网络,如有侵权,请联系删除

今年以来格力电器新获得专利授权4222个,较去年同期减少了0.87%。结合公司2024年年报财务数据,2024年公司在研发方面投入了69.04亿元,同比增2.1%。

通过天眼查大数据分析,珠海格力电器股份有限公司共对外投资了101家企业,参与招投标项目28356次;财产线索方面有商标信息8147条,专利信息115713条,著作权信息297条;此外企业还拥有行政许可830个。

数据来源:天眼查APP

以上内容为证券之星据公开信息整理,由AI算法生成(网信算备310104345710301240019号),不构成投资建议。

浏览58.9k
返回
目录
返回
首页
债市收盘| 隔夜资金利率不足1.3%,主要利率债收益率全线下行 承销报价须覆盖差旅费等业务支出!交易商协会细化债市反内卷要求

Copyright © 2024 dw 版权所有

备案号: 蜀ICP备2024051291号-17

盈动财经专业为您提供视野洞察、能源期货、黄金市场、金融市场、财经专题等财经方面资讯,盈动财经是一个专业财经领域资讯服务者。

本站部分内容为转载,不代表本站立场,如有侵权请联系处理。