盈动财经

格力电器获得发明专利授权:“过滤件装配结构及吸尘器”

09 08月
作者:小微|{/foreach}{/if}

证券之星消息,根据天眼查APP数据显示格力电器(000651)新获得一项发明专利授权,专利名为“过滤件装配结构及吸尘器”,专利申请号为CN201911219310.1,授权日为2025年8月8日。

格力电器获得发明专利授权:“过滤件装配结构及吸尘器”
图片来源于网络,如有侵权,请联系删除

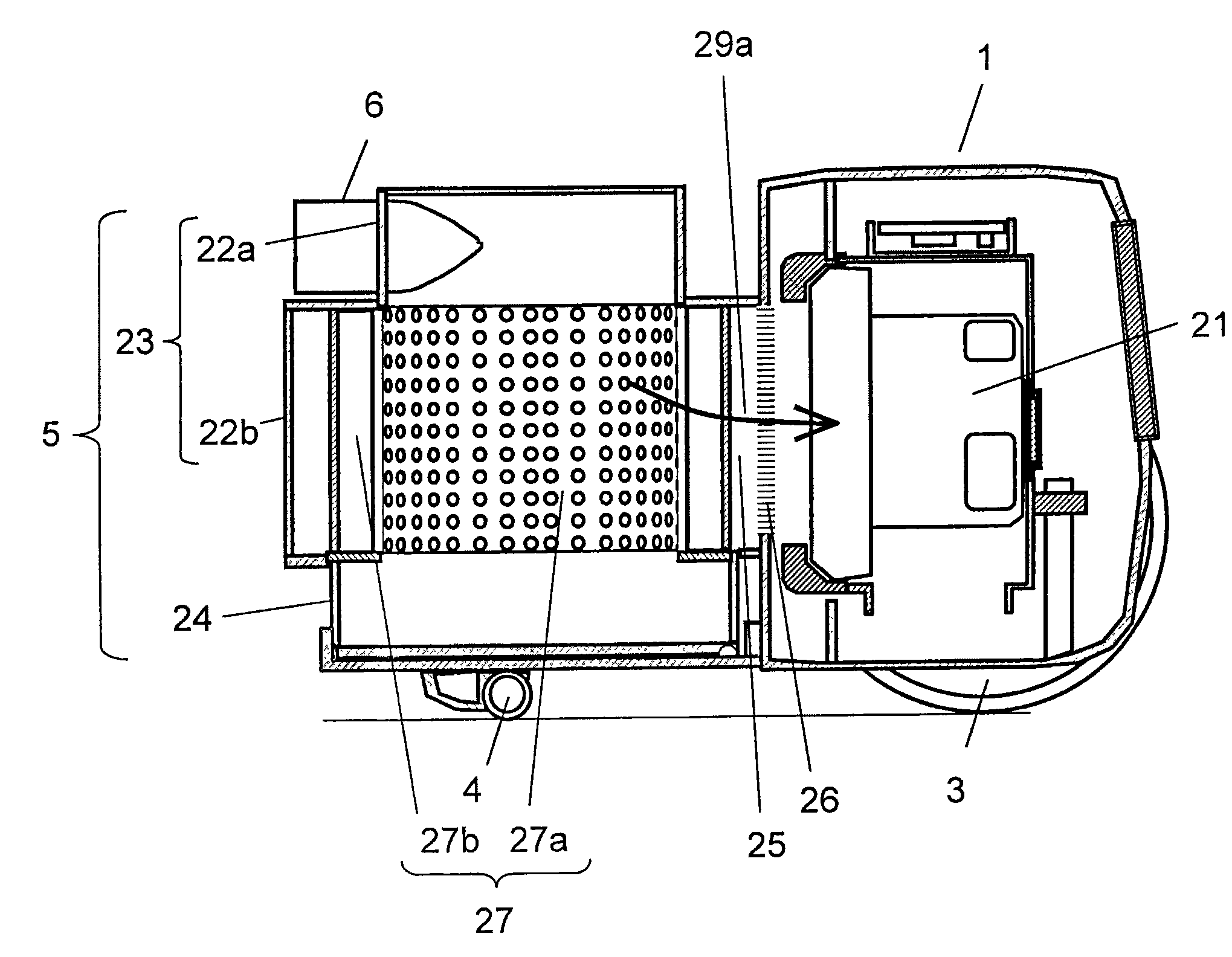
专利摘要:本发明涉及一种过滤件装配结构及吸尘器,包括:过滤件;具有内腔的装配件,装配件上开设有与内腔连通的开口及气流孔,过滤件的部分从开口密封装配于内腔内,过滤件与内腔的腔壁之间界定形成密封腔;用于开合气流孔的开合件,当密封腔内压强大于外界空间的压强时,开合件打开气流孔,当密封腔内压强小于外界空间的压强时,开合件关闭气流孔;当过滤件受到促使其脱离装配件的作用力时,密封腔与外界空间之间产生促使过滤件吸附于装配件上的气压差。当过滤件受到促使其脱离装配件的作用力时,密封腔的体积增大,此时密封腔内的压强减少,密封腔与外界空间之间将产生促使过滤件吸附于装配件上的气压差,从而使过滤件不易从装配件上脱离。

格力电器获得发明专利授权:“过滤件装配结构及吸尘器”
图片来源于网络,如有侵权,请联系删除

今年以来格力电器新获得专利授权4317个,较去年同期减少了3.05%。结合公司2024年年报财务数据,2024年公司在研发方面投入了69.04亿元,同比增2.1%。

格力电器获得发明专利授权:“过滤件装配结构及吸尘器”
图片来源于网络,如有侵权,请联系删除

通过天眼查大数据分析,珠海格力电器股份有限公司共对外投资了101家企业,参与招投标项目28652次;财产线索方面有商标信息8150条,专利信息115847条,著作权信息297条;此外企业还拥有行政许可830个。

数据来源:天眼查APP

以上内容为证券之星据公开信息整理,由AI算法生成(网信算备310104345710301240019号),不构成投资建议。

浏览52k
返回
目录
返回
首页
逆袭!创十年新高 这类基金表现亮眼 国家电网公司发行100亿元境外人民币债券

Copyright © 2024 dw 版权所有

备案号: 蜀ICP备2024051291号-17

盈动财经专业为您提供视野洞察、能源期货、黄金市场、金融市场、财经专题等财经方面资讯,盈动财经是一个专业财经领域资讯服务者。

本站部分内容为转载,不代表本站立场,如有侵权请联系处理。