绿田机械获得实用新型专利授权:“一种清洗机的拉杆固定结构”
证券之星消息,根据天眼查APP数据显示绿田机械(605259)新获得一项实用新型专利授权,专利名为“一种清洗机的拉杆固定结构”,专利申请号为CN202422757211.1,授权日为2025年10月10日。

图片来源于网络,如有侵权,请联系删除
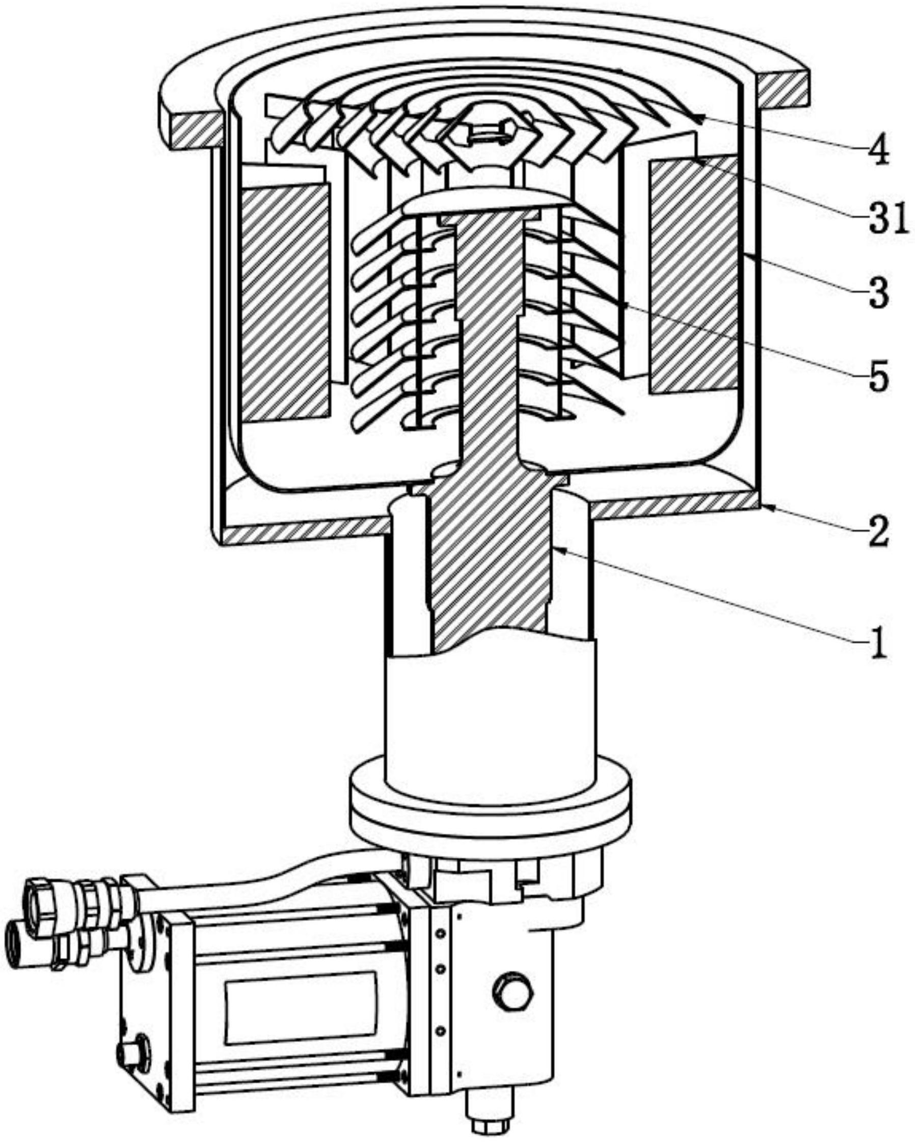
专利摘要:本实用新型提供了一种清洗机的拉杆固定结构,属于高压清洗机技术领域。它解决了现有拉杆安装结构的可靠性差的问题。本清洗机的拉杆固定结构,包括机壳和拉杆组件,拉杆组件包括主套管,机壳的背面上具有沿竖向开设有定位槽,定位槽的上方具有上限位围挡,所述定位槽的下方具有下限位围挡,主套管的上部位于上限位围挡的内侧,主套管的中部位于在定位槽内,主套管的下部位于下限位围挡的内侧,主套管的下端与机壳之间通过螺钉连接。本结构中的上限位围挡、定位槽和下限位围挡依次对主套管的上部、中部和下部进行限位,主套管无法发生前后、左右晃动,加上螺钉对主套管下端的固定,实现对主套管的轴向定位,主套管的安装固定具有较好的可靠性。

图片来源于网络,如有侵权,请联系删除
今年以来绿田机械新获得专利授权33个,较去年同期增加了17.86%。结合公司2025年中报财务数据,今年上半年公司在研发方面投入了4960.74万元,同比增41.7%。
通过天眼查大数据分析,绿田机械股份有限公司共对外投资了5家企业,参与招投标项目28次;财产线索方面有商标信息68条,专利信息442条;此外企业还拥有行政许可24个。
数据来源:天眼查APP
以上内容为证券之星据公开信息整理,由AI算法生成(网信算备310104345710301240019号),不构成投资建议。
目录 返回
首页
