雷赛智能获得实用新型专利授权:“转子铁芯和电机转子”
证券之星消息,根据天眼查APP数据显示雷赛智能(002979)新获得一项实用新型专利授权,专利名为“转子铁芯和电机转子”,专利申请号为CN202422566331.3,授权日为2025年10月24日。

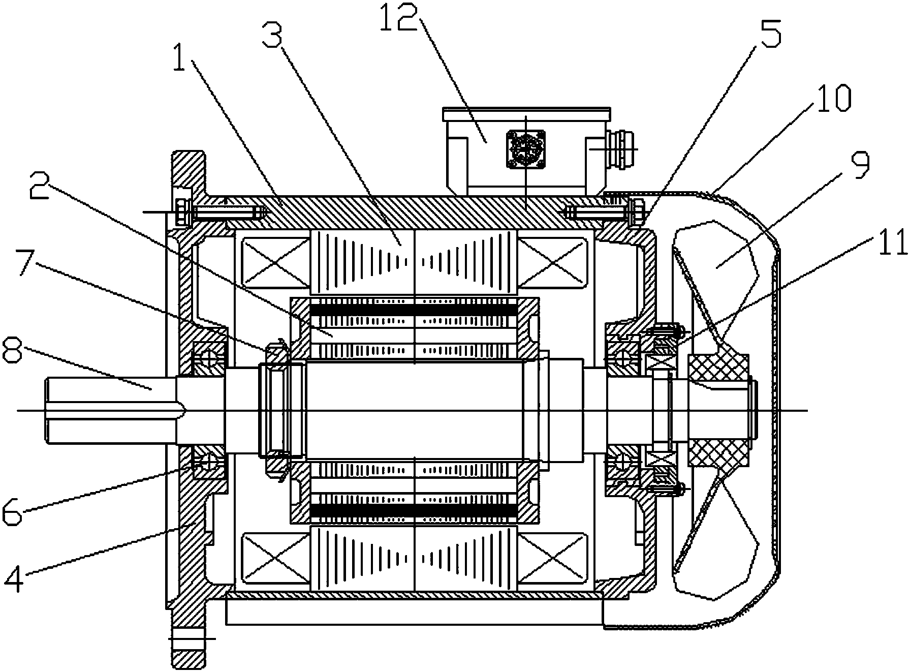
图片来源于网络,如有侵权,请联系删除
专利摘要:一种转子铁芯和电机转子,包括:铁芯组件,铁芯组件形成有沿轴线方向延伸的安装槽,安装槽用于插设永磁体;其中,至少两个铁芯组件用于沿轴线方向拼接固定,且位于两端的铁芯组件的安装槽的外端设有阻挡件,以将永磁体限位于两端的阻挡件之间的安装槽内。由于转子铁芯由至少两个铁芯组件叠放固定形成,且永磁体插设于铁芯组件的安装槽内,并通过两端的阻挡件限制永磁体移动,从而无需通过磁钢胶粘接,节约了使用磁钢胶所需的固化时间,提升了转子铁芯的制作效率。

图片来源于网络,如有侵权,请联系删除
今年以来雷赛智能新获得专利授权65个,较去年同期增加了58.54%。结合公司2025年中报财务数据,今年上半年公司在研发方面投入了1.03亿元,同比增7.08%。

图片来源于网络,如有侵权,请联系删除
通过天眼查大数据分析,深圳市雷赛智能控制股份有限公司共对外投资了7家企业,参与招投标项目21次;财产线索方面有商标信息372条,专利信息597条,著作权信息34条;此外企业还拥有行政许可13个。
数据来源:天眼查APP
以上内容为证券之星据公开信息整理,由AI算法生成(网信算备310104345710301240019号),不构成投资建议。
目录 返回
首页
