柳 工获得发明专利授权:“电控挖掘机液压控制系统、电控挖掘机及控制方法”
证券之星消息,根据天眼查APP数据显示柳 工(000528)新获得一项发明专利授权,专利名为“电控挖掘机液压控制系统、电控挖掘机及控制方法”,专利申请号为CN202211698352.X,授权日为2025年11月7日。

图片来源于网络,如有侵权,请联系删除
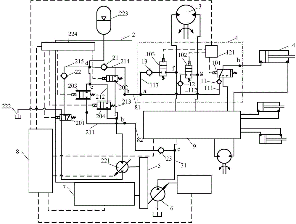
专利摘要:本发明涉及挖掘机技术领域,公开了一种电控挖掘机液压控制系统、电控挖掘机及控制方法,采用单个变量泵,减少了泵的数量,降低了成本;通过电控手柄调节每个先导电磁阀的工作电流以调节先导电磁阀的开度,同时根据所有先导电磁阀的工作电流中的最大电流值调节变量泵的排量,使变量泵的排量能够满足实际的工作需求,响应速度快,降低了运行成本。本发明提供的电控挖掘机平地控制方法,通过寻找斗杆油缸和动臂油缸之间的速度配合关系,得到平地作业时斗杆回收先导电磁阀和动臂提升先导电磁阀的工作电流之间的关系,通过该关系结合动臂需求电流和斗杆需求电流分别调节斗杆回收先导电磁阀和动臂提升先导电磁阀的开度,从而得到较好的平地操作性。

图片来源于网络,如有侵权,请联系删除
今年以来柳 工新获得专利授权247个,较去年同期增加了59.35%。结合公司2025年中报财务数据,今年上半年公司在研发方面投入了6.08亿元,同比增25.63%。

图片来源于网络,如有侵权,请联系删除
通过天眼查大数据分析,广西柳工机械股份有限公司共对外投资了39家企业,参与招投标项目1256次;财产线索方面有商标信息88条,专利信息2973条,著作权信息154条;此外企业还拥有行政许可516个。
数据来源:天眼查APP
以上内容为证券之星据公开信息整理,由AI算法生成(网信算备310104345710301240019号),不构成投资建议。
目录 返回
首页
