神开股份获得实用新型专利授权:“一种随钻压力检测探管”
证券之星消息,根据天眼查APP数据显示神开股份(002278)新获得一项实用新型专利授权,专利名为“一种随钻压力检测探管”,专利申请号为CN202422997134.7,授权日为2025年10月31日。

图片来源于网络,如有侵权,请联系删除
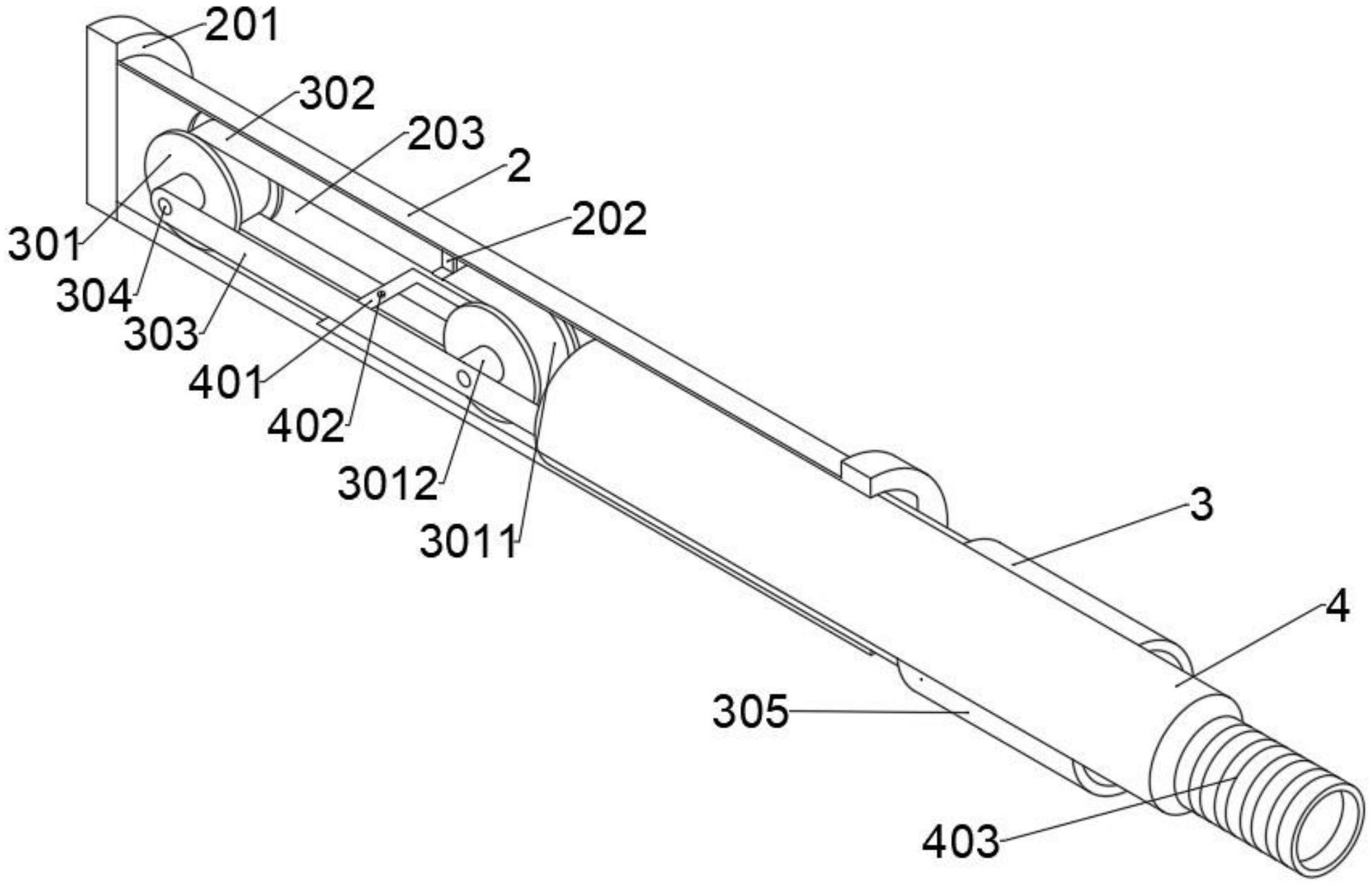
专利摘要:本实用新型公开了一种随钻压力检测探管,其特征在于,包括一探管本体,所述探管本体包括相连的上接头、PCB壳体、延长筒以及下接头;在所述PCB壳体中部轴向设置有PCB组件;在所述PCB壳体内部分别设置有外进压通道和内进压通道;在外进压通道的末端处设置有第一平衡活塞组件和第一压力传感器;在所述内进压通道的入口处设置有防冲刷滤网,在所述内进压通道的末端处设置有第二平衡活塞组件和第二压力传感器;在所述PCB壳体外部设置有密封结构,通过所述密封结构将所述外进压通道和内进压通道的进压入口进行区隔。本装置结构简单,制造及装配方便。利用平衡活塞体将外部岩屑隔绝,实现压力检测;另外在压力检测口部位增加防冲刷滤网避免压力检测口被冲刷损坏。综上所述,通过以上改进该装置工作安全可靠,具有实用性和经济性。
今年以来神开股份新获得专利授权7个,较去年同期减少了68.18%。结合公司2025年中报财务数据,今年上半年公司在研发方面投入了3441.82万元,同比增12.73%。
通过天眼查大数据分析,上海神开石油化工装备股份有限公司共对外投资了7家企业,参与招投标项目3次;财产线索方面有商标信息42条,专利信息638条,著作权信息114条;此外企业还拥有行政许可21个。
数据来源:天眼查APP
以上内容为证券之星据公开信息整理,由AI算法生成(网信算备310104345710301240019号),不构成投资建议。
目录 返回
首页
