明志科技获得实用新型专利授权:“一种射砂装置”
证券之星消息,根据天眼查APP数据显示明志科技(688355)新获得一项实用新型专利授权,专利名为“一种射砂装置”,专利申请号为CN202520259510.4,授权日为2026年1月23日。

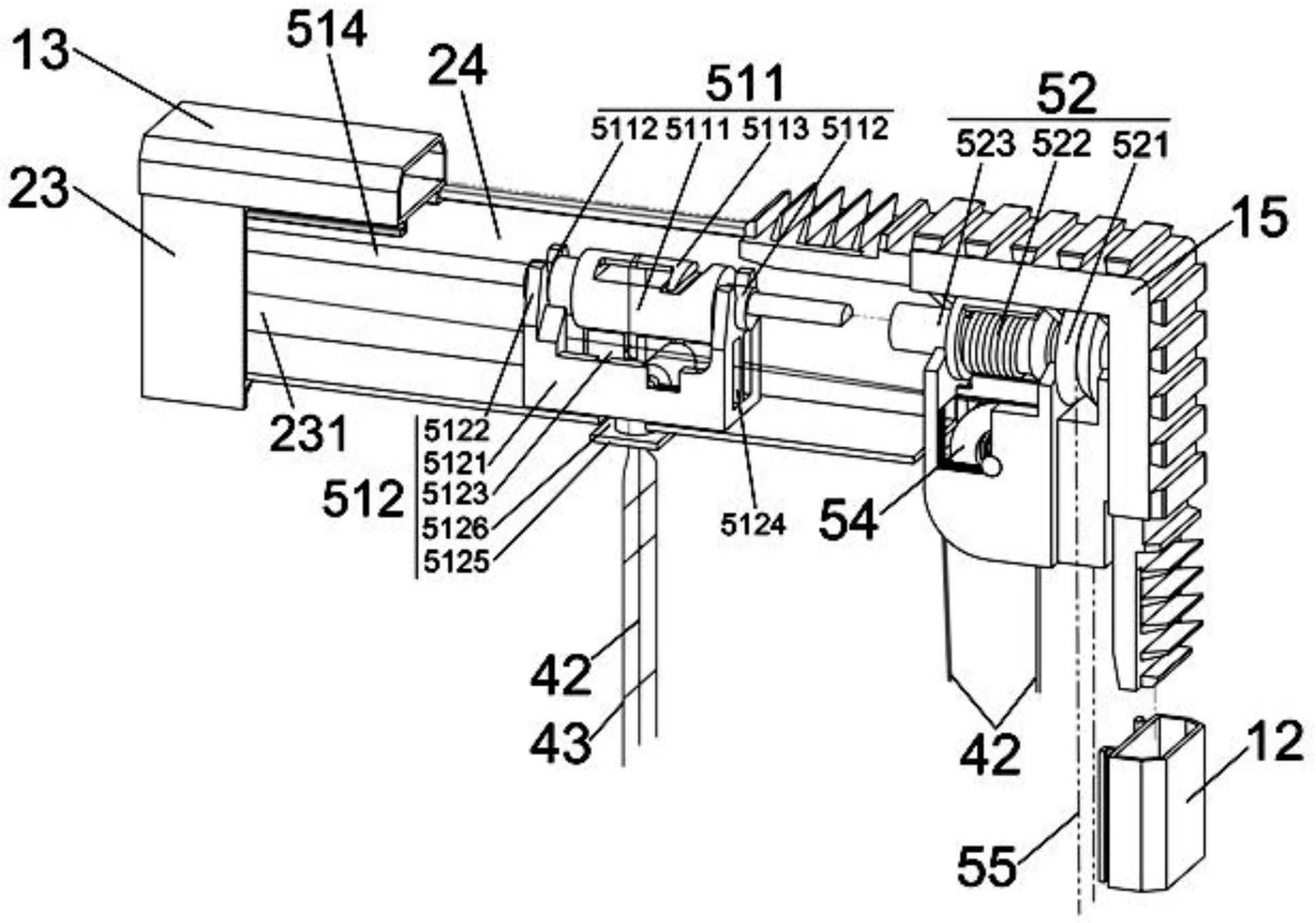
图片来源于网络,如有侵权,请联系删除
专利摘要:本实用新型公开了一种射砂装置,包括:射砂筒,其具有分隔设置的进气通道和出气通道,所述进气通道包括布置在所述射砂筒内的至少一个进气管路;集成阀,其相对所述射砂筒可移动的设置,所述集成阀具有间隔布置的进气腔和出气腔,所述进气腔与所述进气通道相连通且出气端设有进气网,所述出气腔与所述出气通道相连通且进气端设有出气网;射板,其安装在所述射砂筒的底部,所述射板上设有连通至所述射砂筒内部的至少两个射孔;每个所述进气管路布置在相邻的至少两个射孔之间且出气端靠近相邻的射孔设置。本实用新型提供的射砂装置,可保证砂芯质量,减少残砂堆积。
今年以来明志科技新获得专利授权2个。结合公司2025年中报财务数据,2025上半年公司在研发方面投入了3290.02万元,同比增36.33%。
通过天眼查大数据分析,苏州明志科技股份有限公司共对外投资了9家企业,参与招投标项目132次;财产线索方面有商标信息20条,专利信息517条,著作权信息12条;此外企业还拥有行政许可64个。
数据来源:天眼查APP
以上内容为证券之星据公开信息整理,由AI算法生成(网信算备310104345710301240019号),不构成投资建议。
目录 返回
首页
