格力电器获得发明专利授权:“一种气液分离导气装置、降膜式蒸发器和空调器”
证券之星消息,根据天眼查APP数据显示格力电器(000651)新获得一项发明专利授权,专利名为“一种气液分离导气装置、降膜式蒸发器和空调器”,专利申请号为CN202211336576.6,授权日为2026年1月23日。

图片来源于网络,如有侵权,请联系删除
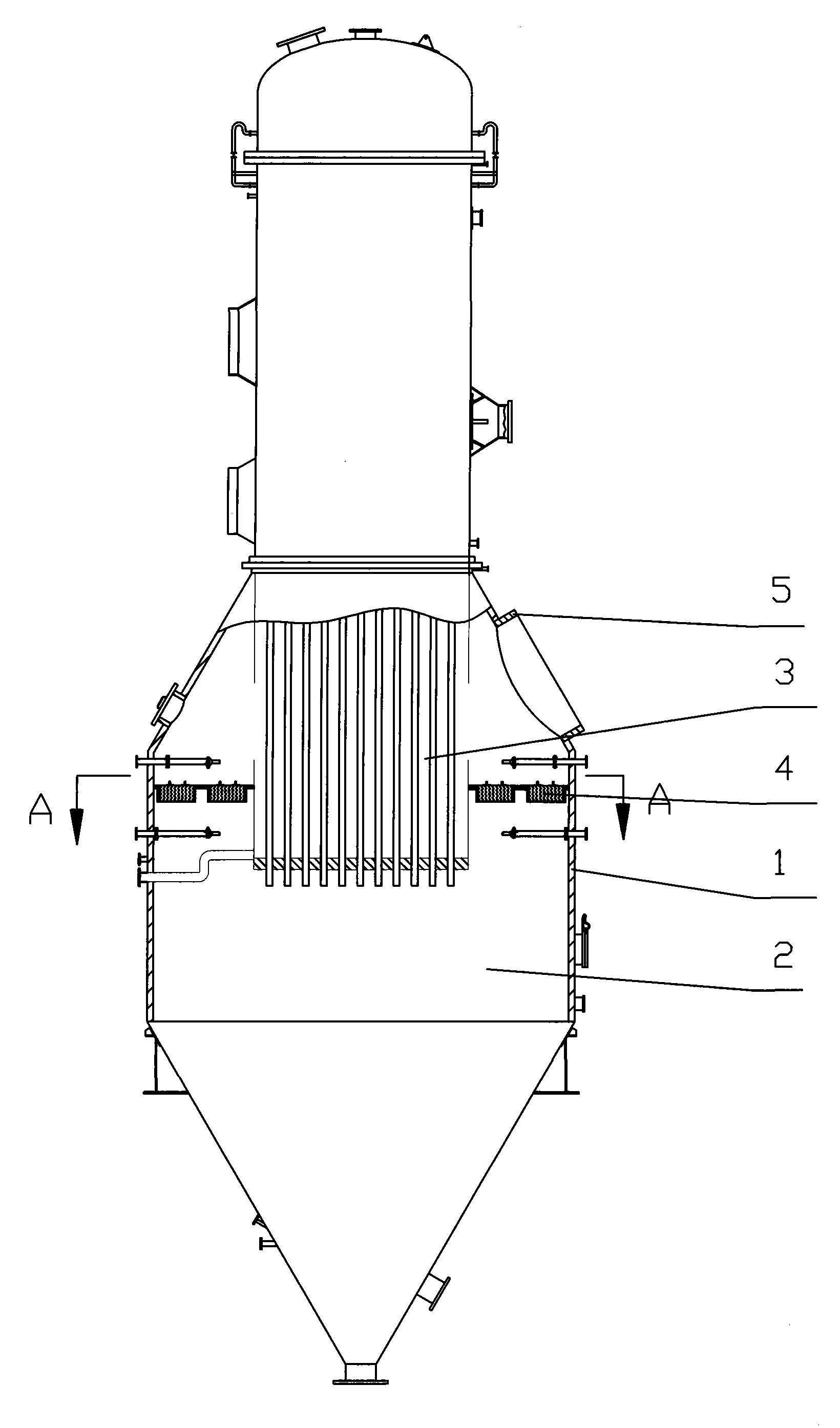
专利摘要:本发明公开了一种气液分离导气装置、降膜式蒸发器和空调器,涉及换热设备领域,解决了现有技术中降膜式蒸发器各层降膜区产生的气态冷媒无法及时排出,未及时排出的气态冷媒影响降膜区布液的均匀性和稳定性的问题。该气液分离导气装置包括均液板和多孔挡板,均液板设置于降膜式蒸发器的降膜区,多孔挡板设置于均液板侧面,并且均液板的数量为至少两块,均液板间隔设置,均液板与多孔挡板围合成至少两个彼此分隔的腔室,降膜式蒸发器的换热管位于腔室内,每个腔室侧面的多孔挡板上均设置有气孔。该气液分离导气装置可使每个腔室内换热产生的气态冷媒及时排出,从而可提高每层降膜区布液的均匀性和稳定性,进而可有效提高换热管的换热效率。

图片来源于网络,如有侵权,请联系删除
今年以来格力电器新获得专利授权590个,较去年同期增加了76.12%。结合公司2025年中报财务数据,2025上半年公司在研发方面投入了39.18亿元,同比增10.92%。

图片来源于网络,如有侵权,请联系删除
通过天眼查大数据分析,珠海格力电器股份有限公司共对外投资了98家企业,参与招投标项目34388次;财产线索方面有商标信息8212条,专利信息120845条,著作权信息299条;此外企业还拥有行政许可908个。
数据来源:天眼查APP
以上内容为证券之星据公开信息整理,由AI算法生成(网信算备310104345710301240019号),不构成投资建议。
目录 返回
首页
