纽泰格获得实用新型专利授权:“一种汽车注塑件料头粉碎循环利用装置”
证券之星消息,根据天眼查APP数据显示纽泰格(301229)新获得一项实用新型专利授权,专利名为“一种汽车注塑件料头粉碎循环利用装置”,专利申请号为CN202520545126.0,授权日为2026年2月13日。

图片来源于网络,如有侵权,请联系删除
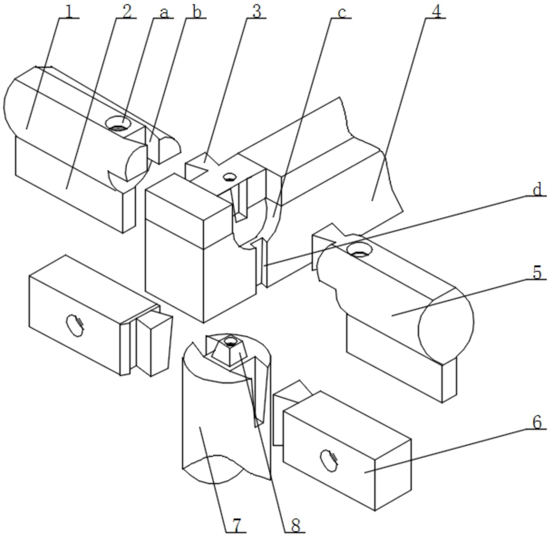
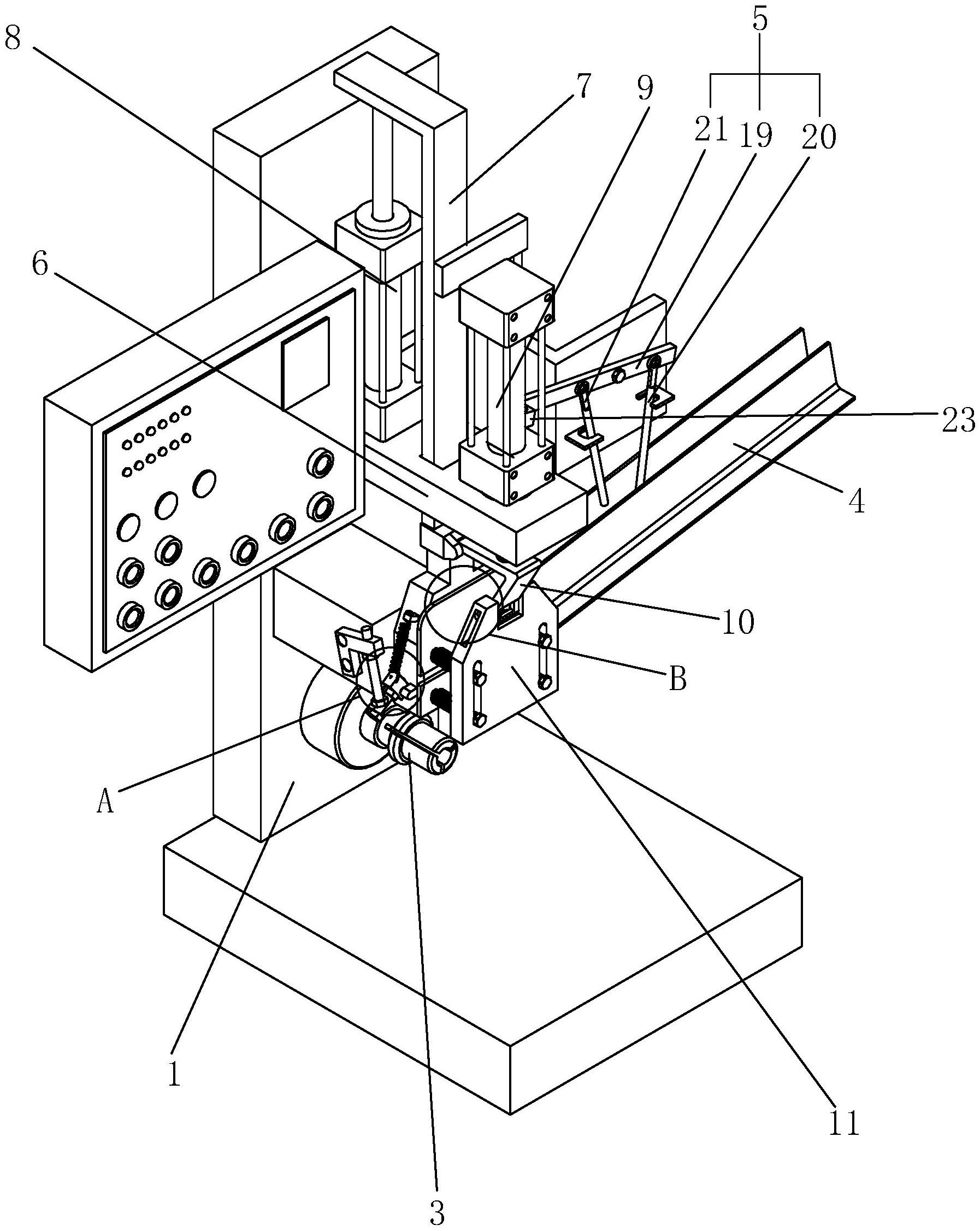
专利摘要:本实用新型公开了一种汽车注塑件料头粉碎循环利用装置,粉碎机构的底部为粉料箱,粉料箱连接于分配机构的一个进料口;分配机构为两进一出结构,分配机构的另一个进料口连接于料源;吸料机构连接于分配机构的出料口,混料机构连接于吸料机构的底端;分配机构为两料比例阀,两料比例阀包括阀体,两个进料口设置于阀体侧部,出料口设置于阀体底部;阀体侧部连接有第一气缸与第二气缸,两个气缸的活塞杆伸入阀体内并连接有堵头。与现有技术相比,本实用新型与注塑装置配套使用,生产过程中的料头直接在注塑装置旁粉碎并与料房中的母粒按比例混合并供给注塑装置循环重复利用,省去了料头周转过程,极大的提高了工作效率。

图片来源于网络,如有侵权,请联系删除
今年以来纽泰格新获得专利授权3个,与去年同期持平。结合公司2025年中报财务数据,2025上半年公司在研发方面投入了3333.02万元,同比增19.67%。
通过天眼查大数据分析,江苏纽泰格科技集团股份有限公司共对外投资了12家企业,参与招投标项目14次;财产线索方面有商标信息11条,专利信息119条,著作权信息4条;此外企业还拥有行政许可23个。
数据来源:天眼查APP
以上内容为证券之星据公开信息整理,由AI算法生成(网信算备310104345710301240019号),不构成投资建议。
目录 返回
首页
