冠中生态获得实用新型专利授权:“一种集装箱翻转机用翻转机构”
证券之星消息,根据天眼查APP数据显示冠中生态(300948)新获得一项实用新型专利授权,专利名为“一种集装箱翻转机用翻转机构”,专利申请号为CN202520631587.X,授权日为2026年2月24日。

图片来源于网络,如有侵权,请联系删除
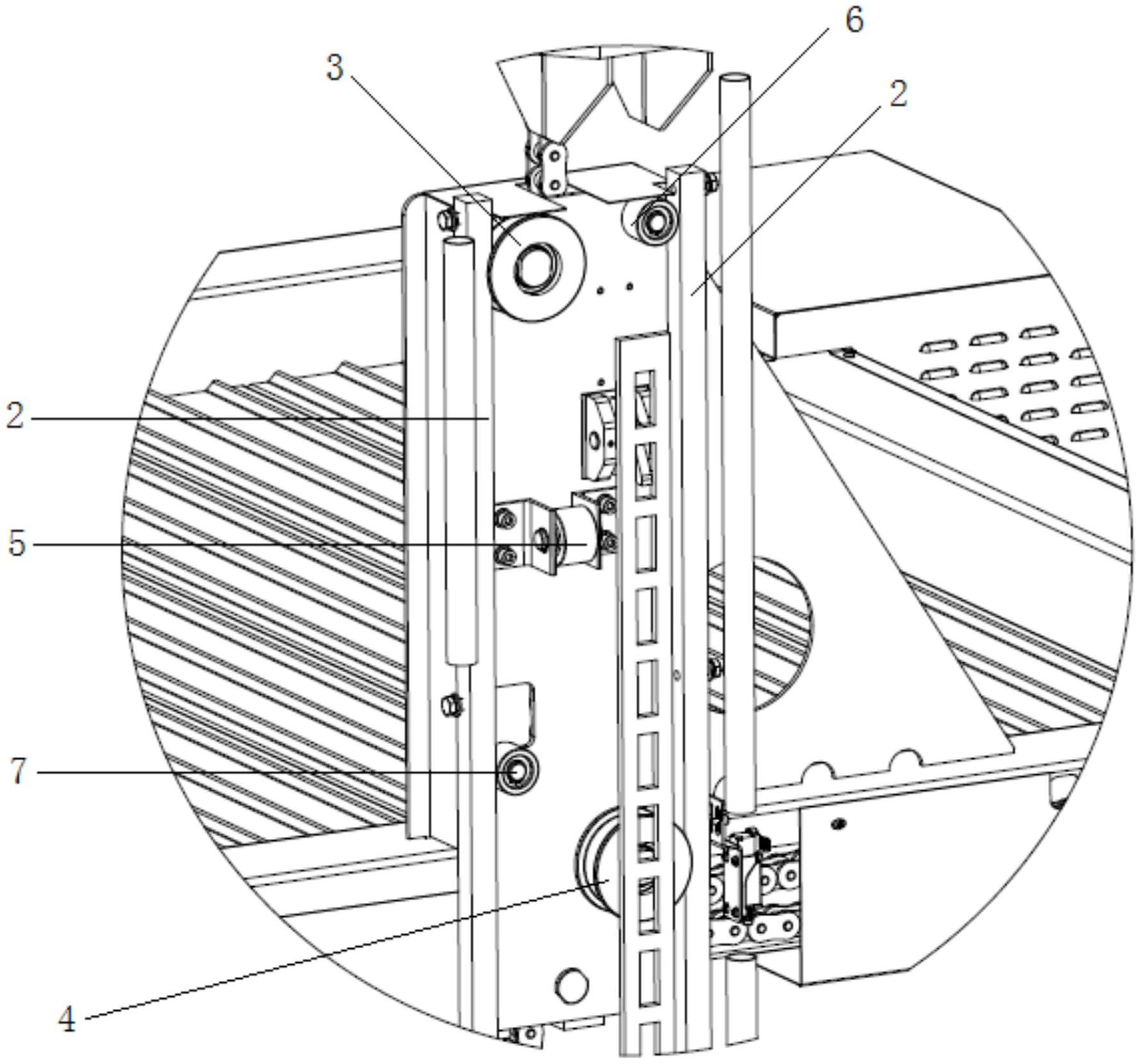
专利摘要:本实用新型公开了一种集装箱翻转机用翻转机构,包括,固定架,可相当于固定架转动的回转架,还包括曲臂,曲臂包括回转端、驱动端A以及驱动端B,所述回转端、固定架及回转架之间通过轴连接,还包括伸缩杆A及伸缩杆B,驱动端A与伸缩杆A的伸缩端铰接,伸缩杆A的固定端与固定架铰接,伸缩杆B的伸缩端与驱动端B铰接,且伸缩杆B固定端固定于回转架上,所述伸缩杆A、伸缩杆B可以同步或单独伸缩。本实用新型结构设计简单可靠,结构精巧,可实现向前或向后的翻转。
今年以来冠中生态新获得专利授权5个,较去年同期增加了150%。结合公司2025年中报财务数据,2025上半年公司在研发方面投入了446.01万元,同比减49.37%。
通过天眼查大数据分析,青岛冠中生态股份有限公司共对外投资了15家企业,参与招投标项目1124次;财产线索方面有商标信息52条,专利信息217条,著作权信息47条;此外企业还拥有行政许可45个。
数据来源:天眼查APP
以上内容为证券之星据公开信息整理,由AI算法生成(网信算备310104345710301240019号),不构成投资建议。
目录 返回
首页
