格力电器获得发明专利授权:“一种自动分离运输装置”
证券之星消息,根据天眼查APP数据显示格力电器(000651)新获得一项发明专利授权,专利名为“一种自动分离运输装置”,专利申请号为CN202311622018.0,授权日为2026年2月24日。

图片来源于网络,如有侵权,请联系删除
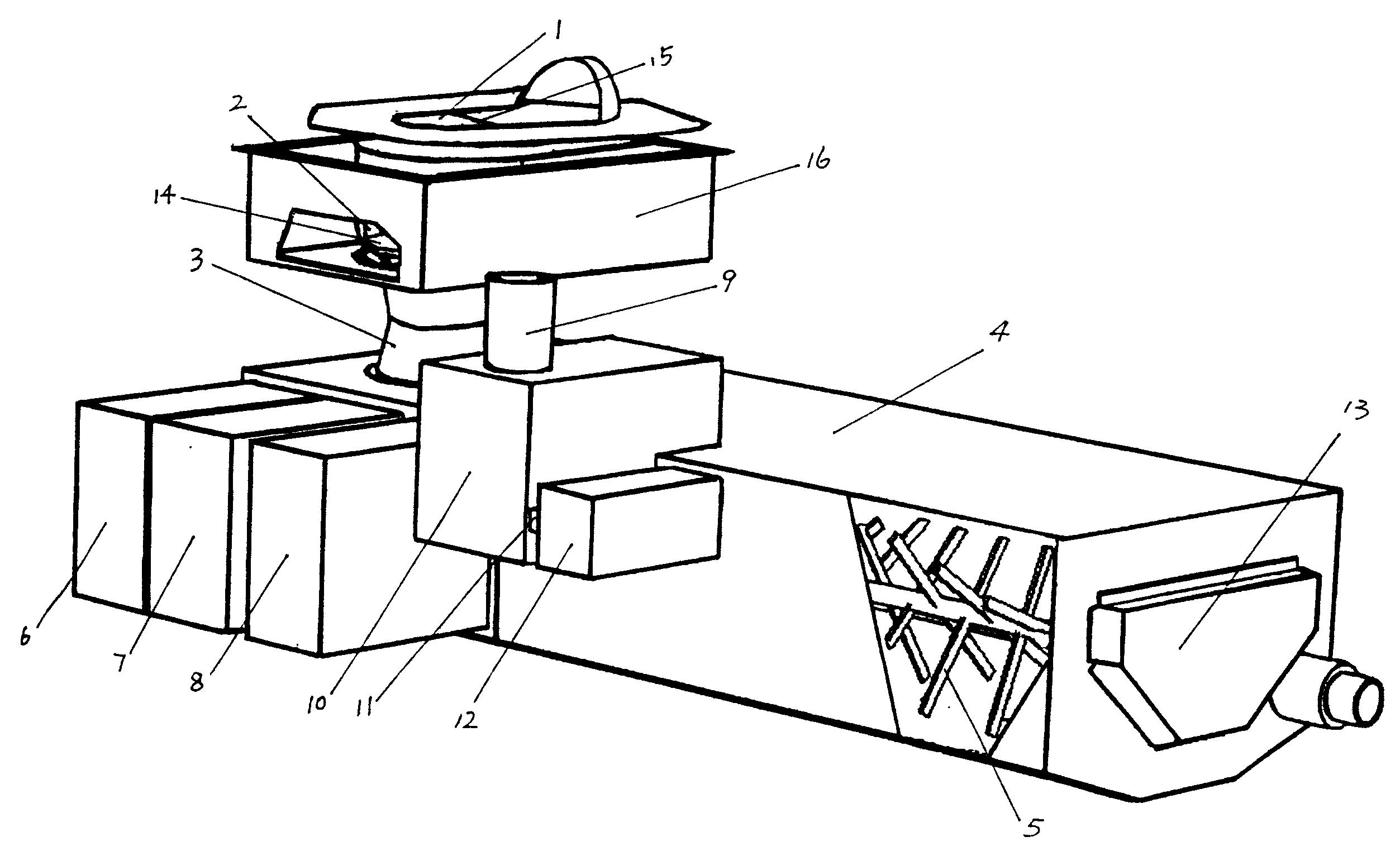
专利摘要:本发明公开了一种自动分离运输装置,包括第一输送线、第二输送线和第三输送线,所述第一输送线上设有若干分离工位,所述第二输送线上设有若干分拣分区,所述若干分离工位处设置所述第二输送线的进料端,所述第三输送线上设有若干出料分区,任意一个所述分拣分区的出料端对接一个出料分区。本发明通过设置第二输送线及其上的若干分拣分区,替代现有分离工位周围放置的较多物料箱,既减少原有分离工位处物料箱的占地空间,又能合理增加分离工位的数量,提高分拣效率,最后利用第三输送线及其上的出料分区将分离后的物料完成分流运输。

图片来源于网络,如有侵权,请联系删除
今年以来格力电器新获得专利授权1375个,较去年同期增加了69.96%。结合公司2025年中报财务数据,2025上半年公司在研发方面投入了39.18亿元,同比增10.92%。

图片来源于网络,如有侵权,请联系删除
通过天眼查大数据分析,珠海格力电器股份有限公司共对外投资了98家企业,参与招投标项目34556次;财产线索方面有商标信息8221条,专利信息121523条,著作权信息300条;此外企业还拥有行政许可923个。
数据来源:天眼查APP
以上内容为证券之星据公开信息整理,由AI算法生成(网信算备310104345710301240019号),不构成投资建议。
目录 返回
首页
